Запчасти Komatsu WA200-1 КОВШ¤ .7M РАБОЧЕЕ ОБОРУДОВАНИЕ

Схема запчастей Komatsu WA200-1 - КОВШ¤ .7M РАБОЧЕЕ ОБОРУДОВАНИЕ
FIT
1:1
100%

Артикул

Название

Примечание

Количество

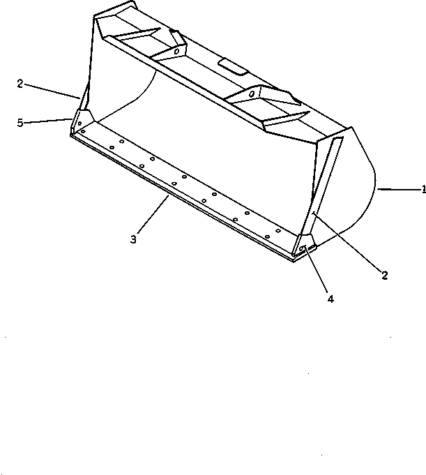
1

418-70-12112

BUCKET

SN: 20001-UP

1шт.

1

0

BUCKET

SN: 10001-19999

1шт.

2

418-70-12131

PLATE (WELDED)

SN: 20001-UP

2шт.

2

418-70-12130

PLATE (WELDED)

SN: 10001-19999

2шт.

3

418-70-12121

EDGE (WELDED)

SN: 10001-UP

1шт.

4

418-70-12350

PLATE,L.H. (WELDED)

SN: 20001-UP

1шт.

4

0

PLATE,L.H. (WELDED)

SN: 10001-19999

1шт.

5

418-70-12360

PLATE,R.H. (WELDED)

SN: 20001-UP

1шт.

5

0

PLATE,R.H. (WELDED)

SN: 10001-19999

1шт.

Выбрано товаров: 9