Запчасти Komatsu WA200-1 LUMBER ЗАХВАТ РАБОЧЕЕ ОБОРУДОВАНИЕ

Схема запчастей Komatsu WA200-1 - LUMBER ЗАХВАТ РАБОЧЕЕ ОБОРУДОВАНИЕ
FIT
1:1
100%

Артикул

Название

Примечание

Количество

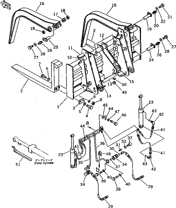
1

418-884-1111

CARRIER

SN: 10001-UP

1шт.

2

418-884-1120

FORK

SN: 10001-UP

2шт.

3

418-884-1130

PLATE

SN: 10001-UP

2шт.

4

01010-32045

BOLT

SN: 10001-UP

4шт.

5

01643-32060

WASHER

SN: 10001-UP

4шт.

6

417-884-1140

PLATE

SN: 10001-UP

4шт.

7

01010-31255

BOLT

SN: 10001-UP

4шт.

8

01580-01210

NUT

SN: 10001-UP

4шт.

9

01643-31232

WASHER

SN: 10001-UP

4шт.

10

417-881-1190

PLATE (WELDED)

SN: 10001-UP

2шт.

11

417-881-1210

PLATE (WELDED)

SN: 10001-UP

2шт.

12

419-881-1170

PLATE (WELDED)

SN: 10001-UP

2шт.

13

419-881-1190

PLATE (WELDED)

SN: 10001-UP

2шт.

14

419-881-1210

PLATE,L.H. (WELDED)

SN: 10001-UP

1шт.

15

419-881-1220

PLATE,R.H. (WELDED)

SN: 10001-UP

1шт.

|$15

418-881-0010

ARM ASS'Y

SN: 10001-UP

1шт.

16

418-881-1110

ARM

SN: 10001-UP

2шт.

17

416-70-11810

BUSHING

SN: 10001-UP

4шт.

18

424-09-12310

SEAL,DUST

SN: 10001-UP

4шт.

19

417-881-1220

PIN

SN: 10001-UP

2шт.

20

07020-00000

FITTING,GREASE

SN: 10001-UP

2шт.

21

01010-31220

BOLT

SN: 10001-UP

2шт.

22

175-54-34170

WASHER

SN: 10001-UP

2шт.

23

707-00-80330

CYLINDER ASS'Y

SN: 10001-UP

2шт.

24

417-881-1230

PIN

SN: 10001-UP

2шт.

25

415-70-11910

PIN

SN: 10001-UP

2шт.

26

07020-00000

FITTING,GREASE

SN: 10001-UP

4шт.

27

01010-31220

BOLT

SN: 10001-UP

4шт.

28

175-54-34170

WASHER

SN: 10001-UP

4шт.

29

07124-20609

HOSE

SN: 10001-UP

2шт.

30

07000-13025

O-RING

SN: 10001-UP

2шт.

31

07371-30638

FLANGE,SPLIT

SN: 10001-UP

4шт.

32

01010-30830

BOLT

SN: 10001-UP

8шт.

33

01643-50823

WASHER

SN: 10001-UP

8шт.

34

07128-10600

JOINT

SN: 10001-UP

2шт.

35

418-881-1140

TUBE,L.H.

SN: 10001-UP

1шт.

36

418-881-1150

TUBE,R.H.

SN: 10001-UP

1шт.

37

07000-13030

O-RING

SN: 10001-UP

2шт.

38

01010-30840

BOLT

SN: 10001-UP

4шт.

39

01010-30855

BOLT

SN: 10001-UP

4шт.

40

01643-50823

WASHER

SN: 10001-UP

8шт.

41

07123-20407

HOSE

SN: 10001-UP

4шт.

42

07235-10422

ELBOW

SN: 10001-UP

4шт.

43

07002-12034

O-RING

SN: 10001-UP

4шт.

44

144-Z20-9260

CLAMP

SN: 10001-UP

2шт.

45

419-881-1180

SPACER

SN: 10001-UP

2шт.

46

01010-31050

BOLT

SN: 10001-UP

2шт.

47

01643-31032

WASHER

SN: 10001-UP

2шт.

48

07283-22738

CLIP

SN: 10001-UP

2шт.

49

01599-01011

NUT

SN: 10001-UP

4шт.

50

01643-31032

WASHER

SN: 10001-UP

4шт.

51

418-904-1811

PLATE

SN: 10001-UP

1шт.

52

416-881-1170

PLATE, OPERATING,(NOT SHOWN)

SN: 10001-UP

1шт.

Выбрано товаров: 53