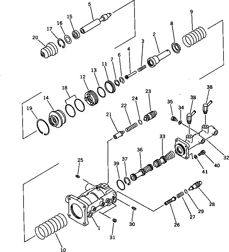
Запчасти Komatsu WA200-1 УСИЛИТЕЛЬ И ГЛАВН. ЦИЛИНДР(№.-9999) ВЕДУЩ. ВАЛ¤ ДИФФЕРЕНЦ. И КОЛЕСА

Схема запчастей Komatsu WA200-1 - УСИЛИТЕЛЬ И ГЛАВН. ЦИЛИНДР(№.-9999) ВЕДУЩ. ВАЛ¤ ДИФФЕРЕНЦ. И КОЛЕСА
FIT
1:1
100%

Артикул

Название

Примечание

Количество

|1

418-43-17402

CYLINDER ASS'Y,BOOSTER AND MASTER

SN: .-19999

1шт.

1

418-43-17442

POWER CYLINDER A.

SN: .-19999

1шт.

2

417-43-17110

CONNECTOR

SN: 10001-@

1шт.

3

417-43-17140

SPRING

SN: 10001-@

1шт.

4

417-43-17150

ROD

SN: 10001-@

1шт.

5

417-43-17160

SPOOL

SN: 10001-@

1шт.

6

417-43-17170

WASHER

SN: 10001-@

1шт.

7

417-43-17180

RING,SNAP

SN: 10001-@

1шт.

8

417-43-17190

SEAT,SPRING

SN: 10001-@

1шт.

9

417-43-17210

SPRING

SN: 10001-@

1шт.

10

417-43-17220

SPRING

SN: 10001-@

1шт.

11

417-43-17230

SEAT,SPRING

SN: 10001-@

1шт.

12

417-43-17240

PISTON,POWER

SN: 10001-@

1шт.

13

417-43-17250

O-RING (K5)

SN: 10001-@

1шт.

14

417-43-17260

COVER

SN: 10001-@

1шт.

15

417-43-17270

SEAL (K5)

SN: 10001-@

1шт.

16

417-43-17280

PLATE (K5)

SN: 10001-@

1шт.

17

417-43-17290

RING,SNAP (K5)

SN: 10001-@

1шт.

18

417-43-17320

O-RING (K5)

SN: 10001-@

2шт.

19

417-43-17330

RING,SNAP (K5)

SN: 10001-@

1шт.

20

417-43-17340

COVER,DUST (K5)

SN: 10001-@

1шт.

21

417-43-17351

VALVE

SN: 10001-@

1шт.

22

418-43-17720

SPRING

SN: 10001-@

1шт.

23

417-43-17381

PLUG

SN: 10001-@

1шт.

24

417-43-17390

O-RING

SN: 10001-@

1шт.

25

417-43-17490

SCREW

SN: 10001-@

1шт.

26

418-43-17750

SPOOL ASS'Y

SN: .-19999

1шт.

27

418-43-17740

SPRING

SN: .-19999

1шт.

28

418-43-17760

PLUG

SN: .-19999

1шт.

29

418-43-17780

O-RING

SN: .-19999

1шт.

30

417-43-17490

SCREW

SN: .-19999

1шт.

31

418-43-17770

PLUG

SN: .-19999

3шт.

32

418-43-17450

MASTER CYLINDER A.

SN: 10001-@

1шт.

33

419-44-12510

PISTON (K4)

SN: 10001-@

1шт.

34

419-44-12520

PACKING (K4)

SN: 10001-@

1шт.

35

419-44-12530

STOPPER

SN: 10001-@

1шт.

36

417-43-17120

PISTON (K4)

SN: 10001-@

1шт.

37

419-44-12560

RING,SNAP (K4)

SN: 10001-@

1шт.

38

419-44-12550

CONNECTOR

SN: 10001-@

2шт.

39

417-43-17130

O-RING (K4)

SN: 10001-@

1шт.

40

01010-51035

BOLT

SN: 10001-@

4шт.

41

01643-31032

WASHER

SN: 10001-@

4шт.

Выбрано товаров: 42