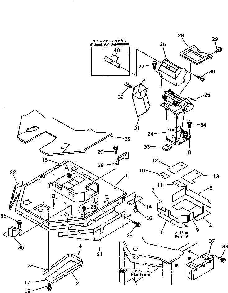
Запчасти Komatsu WA200-1 ОСНОВН. КОНСТРУКЦИЯ И ПРИБОРНАЯ ПАНЕЛЬ(№-) РАМА И ЧАСТИ КОРПУСА

Схема запчастей Komatsu WA200-1 - ОСНОВН. КОНСТРУКЦИЯ И ПРИБОРНАЯ ПАНЕЛЬ(№-) РАМА И ЧАСТИ КОРПУСА
FIT
1:1
100%

Артикул

Название

Примечание

Количество

|1

418-54-12560

FLOOR FRAME ASS'Y

SN: 30001-UP

1шт.

1

418-54-12540

FRAME,FLOOR

SN: 30001-UP

1шт.

2

421-54-18340

INSULATOR

SN: 30001-UP

1шт.

3

421-54-18350

INSULATOR

SN: 30001-UP

1шт.

4

421-54-18360

INSULATOR

SN: 30001-UP

1шт.

5

419-54-13320

INSULATOR

SN: 30001-UP

1шт.

6

419-54-13330

INSULATOR

SN: 30001-UP

1шт.

7

419-54-13340

INSULATOR

SN: 30001-UP

1шт.

8

419-54-13350

INSULATOR

SN: 30001-UP

1шт.

9

419-54-13360

INSULATOR

SN: 30001-UP

1шт.

10

419-54-13370

INSULATOR

SN: 30001-UP

1шт.

11

419-54-13380

INSULATOR

SN: 30001-UP

1шт.

12

419-54-13390

INSULATOR

SN: 30001-UP

1шт.

13

419-54-13410

INSULATOR

SN: 30001-UP

1шт.

14

419-54-13250

COVER,L.H.

SN: 30001-UP

1шт.

15

419-54-13260

COVER,R.H.

SN: 30001-UP

1шт.

16

01435-01220

BOLT

SN: 30001-UP

2шт.

17

421-54-18480

COVER

SN: 30001-UP

1шт.

18

01435-00816

BOLT

SN: 30001-UP

5шт.

19

425-54-12570

COVER

SN: 30001-UP

1шт.

20

01435-00820

BOLT

SN: 30001-UP

2шт.

21

419-54-13542

COVER,L.H.

SN: 30116-UP

1шт.

|21

0

COVER,L.H.

SN: 30001-30115

1шт.

22

419-54-13552

COVER,R.H. (WITHOUT AIR CONDITIONER)

SN: 30116-UP

1шт.

|22

0

COVER,R.H. (WITHOUT AIR CONDITIONER)

SN: 30001-30115

1шт.

|22

418-54-12552

COVER,R.H. (WITH AIR CONDITIONER)

SN: 30116-UP

1шт.

|22

0

COVER,R.H. (WITH AIR CONDITIONER)

SN: 30029-30115

1шт.

|22

0

COVER,R.H. (WITH AIR CONDITIONER)

SN: 30001-30028

1шт.

23

01435-01220

BOLT,(WITHOUT AIR CONDITIONER)

SN: 30001-UP

6шт.

|23

01435-01220

BOLT,(WITH AIR CONDITIONER)

SN: 30001-UP

5шт.

24

419-54-12376

SUPPORT

SN: 30001-UP

1шт.

25

421-54-12273

INSULATOR

SN: 10001-UP

1шт.

26

421-54-12813

COVER

SN: 10001-UP

1шт.

27

01435-00816

BOLT

SN: 30001-UP

4шт.

28

425-54-12871

COVER

SN: 10634-UP

1шт.

29

01435-00816

BOLT

SN: 30001-UP

2шт.

30

01224-70620

SCREW

SN: 20243-UP

2шт.

31

419-54-12383

COVER

SN: 10001-UP

1шт.

32

01435-00816

BOLT

SN: 30001-UP

4шт.

33

419-54-12631

SHEET

SN: 10001-UP

1шт.

34

01435-01230

BOLT

SN: 30001-UP

4шт.

35

419-54-13222

PLATE

SN: 20001-UP

1шт.

36

01435-00612

BOLT

SN: 30001-UP

3шт.

37

416-54-14132

BOX,TOOL

SN: 30001-UP

1шт.

38

01435-01220

BOLT

SN: 30001-UP

4шт.

39

418-54-12460

MAT,FLOOR

SN: 30001-UP

1шт.

40

424-09-12610

COVER,(WITHOUT AIR CONDITIONER)

SN: 10001-UP

4шт.

Выбрано товаров: 0