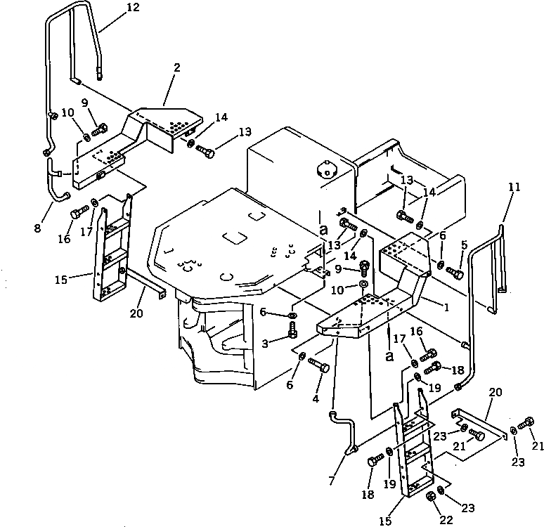
Запчасти Komatsu WA200-1 КРЫЛО И ЛЕСТНИЦА(№-9999) РАМА И ЧАСТИ КОРПУСА

Схема запчастей Komatsu WA200-1 - КРЫЛО И ЛЕСТНИЦА(№-9999) РАМА И ЧАСТИ КОРПУСА
FIT
1:1
100%

Артикул

Название

Примечание

Количество

1

418-54-14121

FENDER,L.H.

SN: 10001-19999

1шт.

2

418-54-14111

FENDER,R.H.

SN: 10001-19999

1шт.

3

01010-51225

BOLT

SN: 10001-@

4шт.

4

01010-51245

BOLT

SN: 10001-@

2шт.

5

01010-51230

BOLT

SN: 10001-19999

4шт.

6

01643-31232

WASHER

SN: 10001-19999

10шт.

7

418-54-12171

HANDRAIL,L.H.

SN: 10001-@

1шт.

8

418-54-12181

HANDRAIL,R.H.

SN: 10001-@

1шт.

9

01010-51225

BOLT

SN: 10001-@

2шт.

10

01643-31232

WASHER

SN: 10001-@

2шт.

11

418-54-12151

HANDRAIL,L.H.

SN: 10001-@

1шт.

12

418-54-12161

HANDRAIL,R.H.

SN: 10001-@

1шт.

13

01010-51225

BOLT

SN: 10001-@

6шт.

14

01643-31232

WASHER

SN: 10001-@

6шт.

15

418-54-12191

LADDER

SN: 10001-19999

2шт.

16

01010-51235

BOLT

SN: 10001-19999

4шт.

17

01643-31232

WASHER

SN: 10001-@

4шт.

18

01010-51230

BOLT

SN: 10001-@

4шт.

19

01643-31232

WASHER

SN: 10001-@

4шт.

20

418-54-12210

SUPPORT

SN: 10001-@

2шт.

21

01010-51240

BOLT

SN: 10001-@

4шт.

22

01580-11210

NUT

SN: 10001-@

2шт.

23

01643-31232

WASHER

SN: 10001-@

6шт.

Выбрано товаров: 23