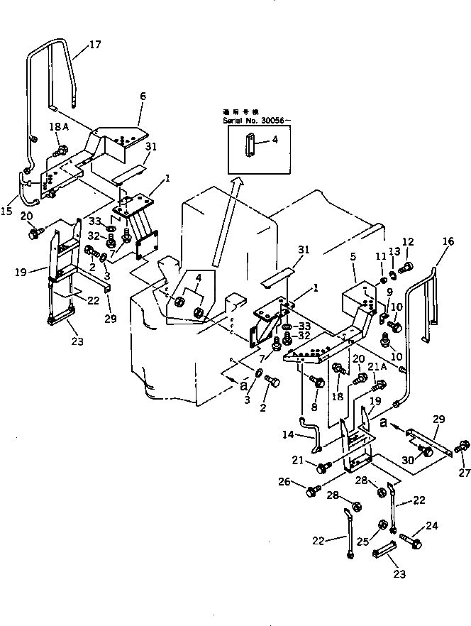
Запчасти Komatsu WA200-1 КРЫЛО И ЛЕСТНИЦА(№-) РАМА И ЧАСТИ КОРПУСА

Схема запчастей Komatsu WA200-1 - КРЫЛО И ЛЕСТНИЦА(№-) РАМА И ЧАСТИ КОРПУСА
FIT
1:1
100%

Артикул

Название

Примечание

Количество

1

418-54-14731

SUPPORT

SN: 30056-UP

2шт.

|1

418-54-14730

SUPPORT

SN: 30001-30055

2шт.

2

01010-51655

BOLT

SN: 30056-UP

8шт.

|2

01010-52460

BOLT

SN: 30001-30055

8шт.

3

01643-31645

WASHER

SN: 30056-UP

8шт.

|3

01643-32460

WASHER

SN: 30001-30055

16шт.

4

418-54-14760

SEAT

SN: 30056-UP

4шт.

|4

01580-12419

NUT

SN: 30001-30055

8шт.

5

418-54-14740

FENDER,L.H.

SN: 30001-UP

1шт.

6

418-54-14750

FENDER,R.H.

SN: 30001-UP

1шт.

7

01435-01225

BOLT

SN: 30001-UP

4шт.

8

01435-01270

BOLT

SN: 30001-UP

4шт.

9

419-54-11750

BRACKET

SN: 20001-UP

2шт.

10

01435-01230

BOLT

SN: 30001-UP

4шт.

11

418-60-15150

STOPPER

SN: 20001-UP

2шт.

12

01220-40630

SCREW

SN: 20001-UP

2шт.

13

01602-20619

WASHER

SN: 20001-UP

2шт.

14

418-54-12171

HANDRAIL,L.H.

SN: 10001-UP

1шт.

15

418-54-12181

HANDRAIL,R.H.

SN: 10001-UP

1шт.

16

418-54-12151

HANDRAIL,L.H.

SN: 10001-UP

1шт.

17

418-54-12161

HANDRAIL,R.H.

SN: 10001-UP

1шт.

18

01435-01225

BOLT

SN: 30001-UP

6шт.

18A

01435-01230

BOLT

SN: 30001-UP

2шт.

19

418-54-14550

LADDER

SN: 30001-UP

2шт.

20

01435-01230

BOLT

SN: 30001-UP

4шт.

21

01435-01230

BOLT

SN: 30001-UP

2шт.

21A

01435-01225

BOLT

SN: 30001-UP

2шт.

22

419-54-14490

WIREROPE

SN: 30001-UP

4шт.

23

423-54-12770

STEP

SN: 30001-UP

2шт.

24

01435-01260

BOLT

SN: 30001-UP

4шт.

25

426-43-19150

NUT

SN: 30001-UP

4шт.

26

01435-01225

BOLT

SN: 30001-UP

4шт.

27

01435-01235

BOLT

SN: 30001-UP

4шт.

28

01584-01210

NUT

SN: 30001-UP

8шт.

29

418-54-14561

SUPPORT

SN: 30001-UP

2шт.

30

01435-01235

BOLT

SN: 30001-UP

2шт.

31

419-54-11790

COVER

SN: 30001-UP

2шт.

32

01010-52045

BOLT

SN: 30001-UP

4шт.

33

01643-32060

WASHER

SN: 30001-UP

4шт.

Выбрано товаров: 39