Запчасти Komatsu WA200-1 NOISE ABATMENT ЧАСТИ (/9)(№-) РАМА И ЧАСТИ КОРПУСА

Схема запчастей Komatsu WA200-1 - NOISE ABATMENT ЧАСТИ (/9)(№-) РАМА И ЧАСТИ КОРПУСА
FIT
1:1
100%

Артикул

Название

Примечание

Количество

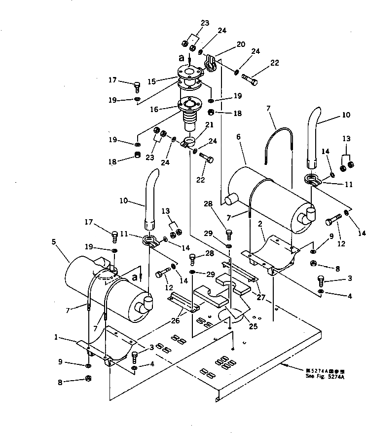
1

418-Z97-1630

BRACKET

SN: 30625-UP

1шт.

2

418-Z97-1640

BRACKET

SN: 30625-UP

1шт.

3

01010-51225

BOLT

SN: 30625-UP

8шт.

4

01643-31232

WASHER

SN: 30625-UP

8шт.

5

416-Z97-1410

MUFFLER

SN: 30625-UP

1шт.

6

418-Z97-1610

MUFFLER

SN: 30625-UP

1шт.

7

6206-11-5960

U-BOLT

SN: 30625-UP

4шт.

8

01580-10806

NUT

SN: 30625-UP

8шт.

9

01643-30823

WASHER

SN: 30625-UP

8шт.

10

416-Z97-1450

PIPE

SN: 30625-UP

2шт.

11

416-Z97-1440

CLAMP

SN: 30625-UP

2шт.

12

01010-51285

BOLT

SN: 30625-UP

2шт.

13

01580-11210

NUT

SN: 30625-UP

4шт.

14

01640-21223

WASHER

SN: 30625-UP

4шт.

15

418-Z97-1620

FLANGE

SN: 30625-UP

1шт.

16

418-Z97-1690

BELLOWS

SN: 30625-UP

1шт.

17

01010-51450

BOLT

SN: 30625-UP

8шт.

18

01580-11411

NUT

SN: 30625-UP

8шт.

19

01643-31445

WASHER

SN: 30625-UP

16шт.

20

416-Z97-1440

CLAMP

SN: 30625-UP

1шт.

21

416-Z97-1430

CLAMP

SN: 30625-UP

1шт.

22

01010-51285

BOLT

SN: 30625-UP

2шт.

23

01580-11210

NUT

SN: 30625-UP

4шт.

24

01640-21223

WASHER

SN: 30625-UP

4шт.

25

418-Z97-1670

FELT

SN: 30625-UP

2шт.

26

418-Z97-1650

PLATE

SN: 30625-UP

1шт.

27

418-Z97-1660

PLATE

SN: 30625-UP

1шт.

28

01010-51225

BOLT

SN: 30625-UP

4шт.

29

01643-31232

WASHER

SN: 30625-UP

4шт.

Выбрано товаров: 29