Запчасти Komatsu WA200-1 АККУМУЛЯТОР И КОРПУС АККУМУЛЯТОРА(№-) КОМПОНЕНТЫ ДВИГАТЕЛЯ И ЭЛЕКТРИКА

Схема запчастей Komatsu WA200-1 - АККУМУЛЯТОР И КОРПУС АККУМУЛЯТОРА(№-) КОМПОНЕНТЫ ДВИГАТЕЛЯ И ЭЛЕКТРИКА
FIT
1:1
100%

Артикул

Название

Примечание

Количество

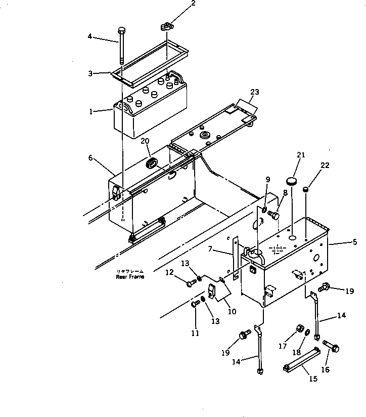
1

08000-32215

BATTERY (145F51)

SN: 10001-UP

2шт.

|1

08000-42215

BATTERY (145F51),(DRY TYPE)

SN: 10001-UP

2шт.

|1

419-Z28-1110

BATTERY¤ 12V 150AH

SN: 10001-UP

2шт.

2

08000-00000

TERMINAL¤ (+)

SN: 10001-UP

2шт.

|2

08000-00001

TERMINAL¤ (-)

SN: 10001-UP

2шт.

3

418-06-11140

HOLDER

SN: 10001-UP

2шт.

4

418-09-11120

BOLT

SN: 10001-UP

4шт.

5

418-06-14260

BOX,BATTERY¤ L.H.

SN: 30001-UP

1шт.

6

418-06-14270

BOX,BATTERY¤ R.H.

SN: 30001-UP

1шт.

7

418-06-11160

SHIM¤ 1.0MM

SN: 10001-UP

4шт.

8

01010-51430

BOLT

SN: 10001-UP

8шт.

9

01643-31445

WASHER

SN: 10001-UP

8шт.

10

421-09-12321

HOLDER

SN: .-UP

2шт.

11

01220-40408

SCREW

SN: 10001-UP

6шт.

12

01220-40410

SCREW

SN: 10001-UP

4шт.

13

01641-20405

WASHER

SN: 10001-UP

10шт.

14

419-54-14490

WIREROPE

SN: 30001-UP

4шт.

15

423-54-12770

STEP

SN: 30001-UP

2шт.

16

01435-01265

BOLT

SN: 30001-UP

4шт.

17

426-43-19150

NUT

SN: 30001-UP

4шт.

18

01643-31232

WASHER

SN: 10001-UP

4шт.

19

01435-01230

BOLT

SN: 30001-UP

8шт.

20

426-09-11230

GROMMET

SN: 10001-UP

2шт.

21

09415-03614

CAP

SN: 30001-UP

2шт.

22

09415-00506

CAP

SN: 30001-UP

8шт.

23

421-09-12780

CUSHION

SN: 20426-UP

4шт.

Выбрано товаров: 26