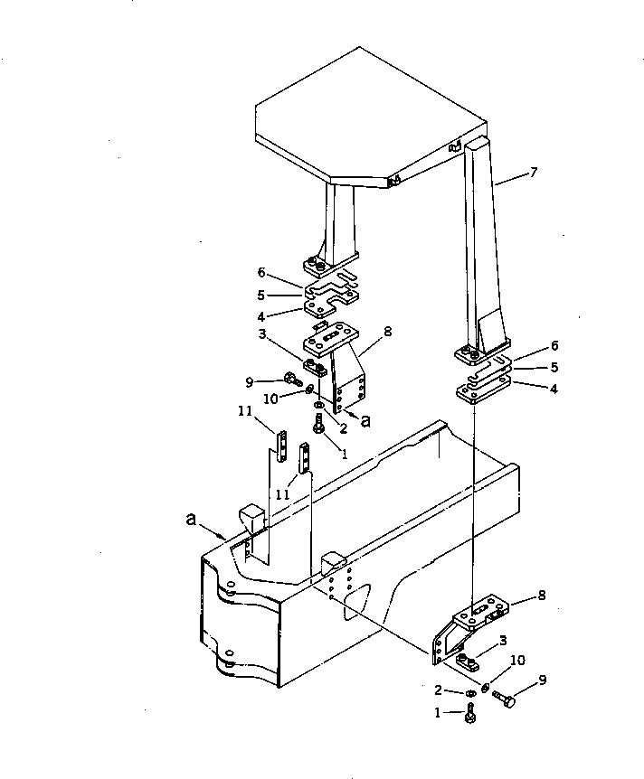
Запчасти Komatsu WA200-1 СИСТЕМА ROPS(№-) РАМА И ЧАСТИ КОРПУСА

Схема запчастей Komatsu WA200-1 - СИСТЕМА ROPS(№-) РАМА И ЧАСТИ КОРПУСА
FIT
1:1
100%

Артикул

Название

Примечание

Количество

|1

419-54-19021

ROPS CANOPY ASS'Y

SN: 30001-UP

1шт.

1

01011-32445

BOLT

SN: 30001-UP

8шт.

2

01643-32460

WASHER

SN: 30001-UP

8шт.

3

419-54-19760

PLATE

SN: 30001-UP

4шт.

4

419-54-19730

PLATE

SN: 30001-UP

2шт.

5

419-54-19740

PLATE

SN: 30001-UP

2шт.

6

419-54-19750

SHIM¤ 0.5MM

SN: 30001-UP

14шт.

7

419-54-19721

CANOPY

SN: 30001-UP

1шт.

8

418-928-1110

SUPPORT

SN: 30001-UP

2шт.

9

01010-52475

BOLT

SN: 30001-UP

12шт.

10

01643-32460

WASHER

SN: 30001-UP

12шт.

11

419-928-1230

PLATE

SN: 30001-UP

4шт.

Выбрано товаров: 12