Запчасти Komatsu WA200-1 КАБИНА (/8) (ЧАСТИ ИНТЕРЬЕРА)(№-9999) РАМА И ЧАСТИ КОРПУСА

Схема запчастей Komatsu WA200-1 - КАБИНА (/8) (ЧАСТИ ИНТЕРЬЕРА)(№-9999) РАМА И ЧАСТИ КОРПУСА
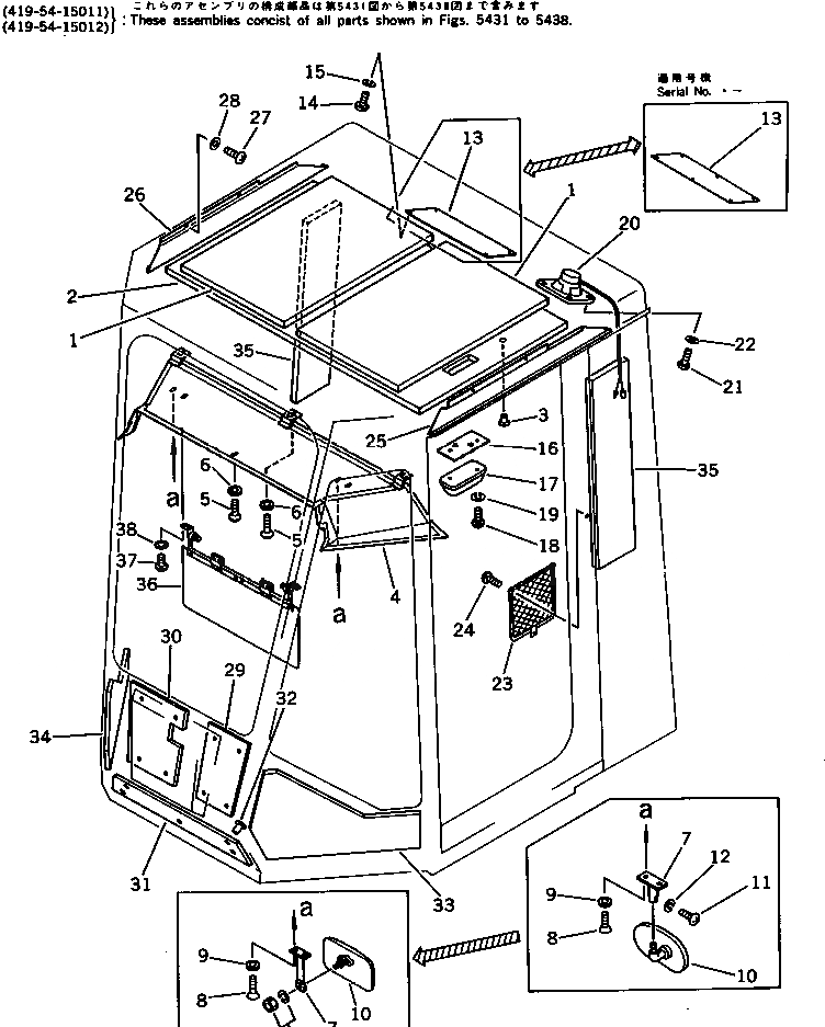
FIT
1:1
100%

Артикул

Название

Примечание

Количество

|1

419-54-15012

OPERATOR'S CAB ASS'Y

SN: 20001-29999

1шт.

|1

0

OPERATOR'S CAB ASS'Y

SN: 10001-19999

1шт.

1

419-54-15551

INSULATOR

SN: 10001-29999

2шт.

2

419-54-15542

PAD

SN: 10001-29999

1шт.

3

09416-10000

BUTTON

SN: 10001-29999

6шт.

4

419-54-15663

COVER

SN: .-29999

1шт.

|4

419-54-15662

COVER

SN: 20001-.

1шт.

|4

0

COVER

SN: 10001-19999

1шт.

5

01225-40516

SCREW

SN: 20001-29999

6шт.

|5

01225-40516

SCREW

SN: 10001-19999

4шт.

6

421-54-15790

WASHER

SN: 20001-29999

6шт.

|6

421-54-15790

WASHER

SN: 10001-19999

4шт.

7

419-56-11271

STAY,(FOR R.H.)

SN: 20001-@

1шт.

|7

417-54-15610

STAY

SN: .-19999

2шт.

|7

0

STAY

SN: 10001-.

2шт.

8

01225-40516

SCREW

SN: 20001-@

2шт.

|8

01225-40516

SCREW

SN: 10001-19999

4шт.

9

421-54-15790

WASHER

SN: 20001-@

2шт.

|9

421-54-15790

WASHER

SN: 10001-19999

4шт.

10

419-56-11260

MIRROR,ROOM (FOR R.H.)

SN: 20001-@

1шт.

|10

421-54-15580

MIRROR,ROOM

SN: 10001-19999

2шт.

11

01220-40616

SCREW

SN: 10001-19999

2шт.

12

01602-20619

WASHER,SPRING

SN: 10001-19999

2шт.

13

419-923-1310

PLATE

SN: .-@

1шт.

|13

425-54-15340

PLATE

SN: 10001-.

1шт.

14

01220-40512

SCREW

SN: .-@

6шт.

|14

01220-40512

SCREW

SN: 10001-.

4шт.

15

01601-20513

WASHER,SPRING

SN: .-@

6шт.

|15

01601-20513

WASHER,SPRING

SN: 10001-.

4шт.

16

425-54-15590

PLATE

SN: 10001-29999

1шт.

17

08141-12400

LAMP

SN: .-@

1шт.

|17

0

LAMP

SN: 10001-.

1шт.

|17

08116-02410

BULB¤ 10W

SN: 10001-29999

1шт.

18

01220-40412

SCREW

SN: 10001-@

2шт.

19

01601-20410

WASHER,SPRING

SN: 10001-@

2шт.

20

205-06-62320

SPEAKER

SN: 10001-@

1шт.

21

01220-40520

SCREW

SN: 10001-@

4шт.

22

01601-20513

WASHER,SPRING

SN: 10001-@

4шт.

23

419-54-15522

POCKET

SN: 10001-29999

1шт.

24

01220-40412

SCREW

SN: 10001-29999

3шт.

25

419-54-15890

COVER,L.H.

SN: 10001-29999

1шт.

26

419-54-15910

COVER,R.H.

SN: 10001-29999

1шт.

27

01220-40512

SCREW

SN: 10001-29999

4шт.

28

01642-20508

WASHER

SN: 10001-29999

4шт.

29

419-54-15571

PAD,L.H.

SN: 10001-29999

1шт.

30

419-54-15581

PAD,R.H.

SN: 10001-29999

1шт.

31

419-54-15591

PAD

SN: 10001-29999

1шт.

32

09416-10000

BUTTON

SN: 10001-29999

13шт.

33

419-54-15621

PAD,L.H.

SN: 10001-29999

1шт.

34

419-54-15631

PAD,R.H.

SN: 10001-29999

1шт.

35

425-54-15481

PAD,L.H.

SN: 20001-29999

1шт.

|35

425-54-15481

PAD,L.H.

SN: 10001-19999

2шт.

|35

419-56-11130

PAD,R.H.

SN: 20001-29999

1шт.

36

419-56-11251

SUN VISOR

SN: 20001-@

1шт.

37

01220-40516

SCREW

SN: 20001-@

4шт.

38

01642-20508

WASHER

SN: 20001-@

4шт.

Выбрано товаров: 56