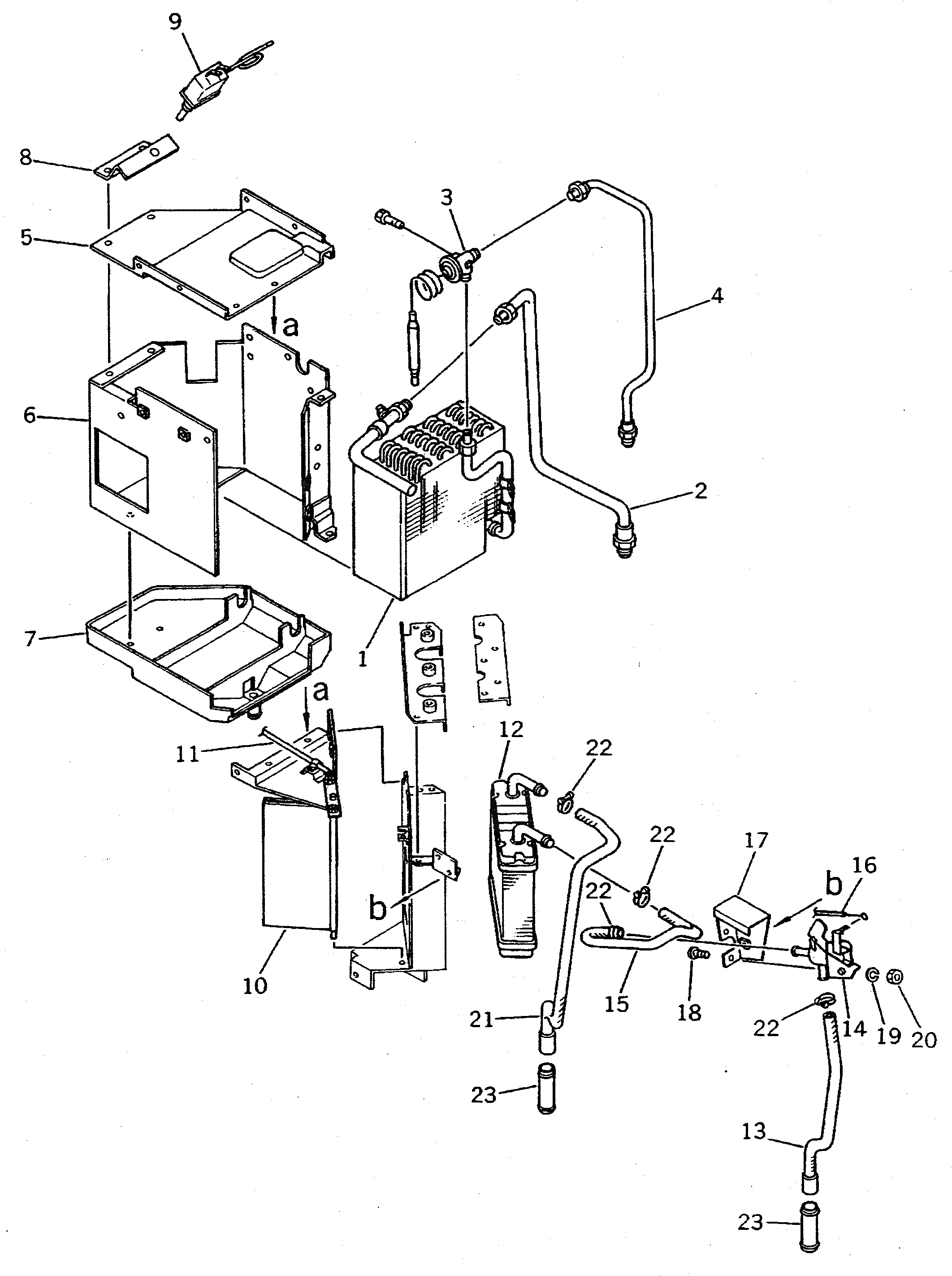
Запчасти Komatsu WA200-1 БЛОК КОНДИЦИОНЕРА (/) (DAIKIN)(№-9) РАМА И ЧАСТИ КОРПУСА

Схема запчастей Komatsu WA200-1 - БЛОК КОНДИЦИОНЕРА (/) (DAIKIN)(№-9) РАМА И ЧАСТИ КОРПУСА
FIT
1:1
100%

Артикул

Название

Примечание

Количество

|1

419-07-11100

AIR CONDITIONER A.

SN: 10001-20091

1шт.

1

425-07-11411

EVAPORATOR COIL A.

SN: .-20091

1шт.

|1

0

EVAPORATOR COIL A.

SN: 10001-.

1шт.

2

425-07-11441

TUBE

SN: 10001-20091

1шт.

3

425-07-11421

VALVE,EXPANSION

SN: .-20091

1шт.

|3

0

VALVE,EXPANSION

SN: 10001-.

1шт.

4

425-07-11431

TUBE

SN: 10001-20091

1шт.

5

0

COVER,EVAPORATOR

SN: 10001-20091

1шт.

6

0

CASE,EVAPORATOR

SN: 10001-20091

1шт.

7

0

DRAIN PAN

SN: 10001-20091

1шт.

8

0

PLATE

SN: 10001-20091

1шт.

9

425-07-11450

THERMOSTAT

SN: 10001-20091

1шт.

10

425-07-11360

DAMPER

SN: 10001-20091

1шт.

11

425-07-11490

WIRE

SN: 10001-20091

1шт.

12

425-07-11460

HEATER UNIT ASS'Y

SN: 10001-20091

1шт.

13

425-07-11660

HOSE

SN: 10001-20091

1шт.

14

425-07-11470

VALVE,WATER

SN: 10001-20091

1шт.

15

425-07-11670

HOSE

SN: 10001-20091

1шт.

16

425-07-11890

WIRE

SN: 10001-20091

1шт.

17

0

PLATE

SN: 10001-20091

1шт.

18

01220-40510

SCREW

SN: 10001-20091

2шт.

19

01601-20513

WASHER,SPRING

SN: 10001-20091

2шт.

20

01580-10504

NUT

SN: 10001-20091

2шт.

21

425-07-11680

HOSE

SN: 10001-20091

1шт.

22

425-07-11650

CLAMP

SN: 10001-20091

4шт.

23

425-07-11590

CONNECTOR

SN: 10001-20091

2шт.

Выбрано товаров: 26