Запчасти Komatsu WA200-1 КОНСОЛЬН. БЛОК¤ ПРАВ.(№-9999) КОМПОНЕНТЫ ДВИГАТЕЛЯ И ЭЛЕКТРИКА

Схема запчастей Komatsu WA200-1 - КОНСОЛЬН. БЛОК¤ ПРАВ.(№-9999) КОМПОНЕНТЫ ДВИГАТЕЛЯ И ЭЛЕКТРИКА
FIT
1:1
100%

Артикул

Название

Примечание

Количество

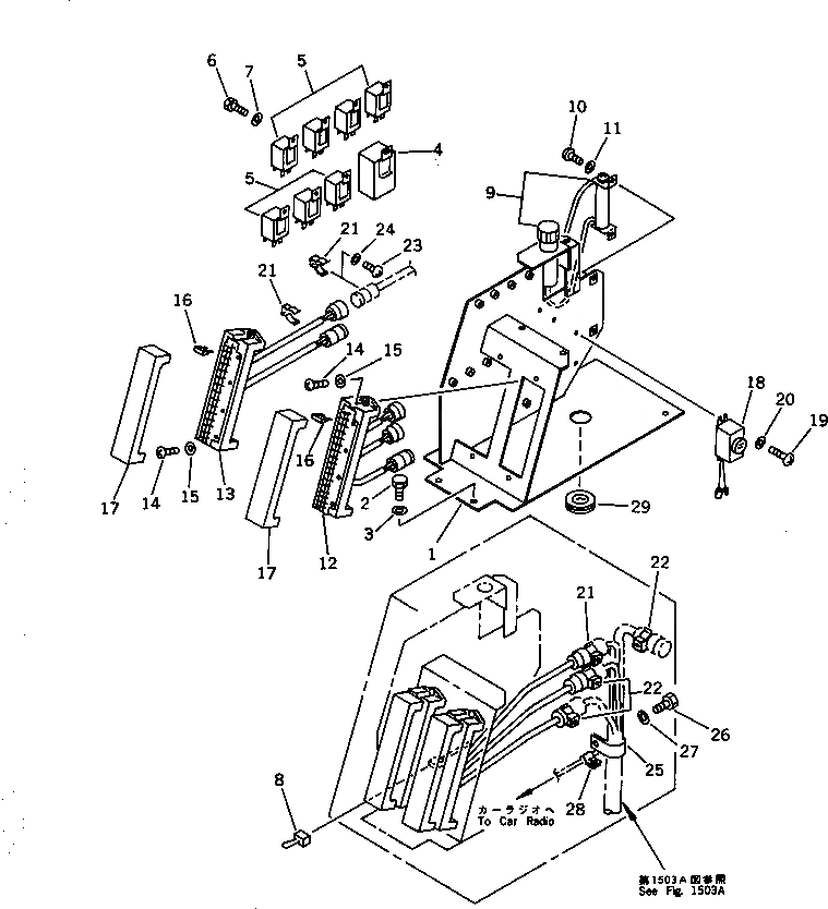
1

419-06-11133

BOX

SN: 20001-29999

1шт.

2

01010-50820

BOLT

SN: 10001-29999

4шт.

3

01643-30823

WASHER

SN: 10001-29999

4шт.

4

22W-06-13251

FLASHER

SN: 10001-@

1шт.

5

287-06-16410

RELAY

SN: 20001-29999

7шт.

6

01010-50612

BOLT

SN: 20001-29999

8шт.

7

01643-30623

WASHER

SN: 20001-29999

8шт.

8

424-06-12240

CONNECTOR

SN: 10001-@

1шт.

9

195-822-6151

LIGHTER

SN: 10001-29999

1шт.

10

01220-40410

SCREW

SN: 10001-29999

2шт.

11

01641-20405

WASHER

SN: 20001-29999

2шт.

12

419-06-12380

BOX ASS'Y,FUSE

SN: 10001-29999

1шт.

13

419-06-12370

BOX ASS'Y,FUSE

SN: 10001-29999

1шт.

14

01220-40620

SCREW

SN: 10001-@

4шт.

15

01641-20608

WASHER

SN: 10001-@

4шт.

16

283-06-16190

FUSE¤ 10A

SN: 10001-29999

22шт.

|16

22W-06-13160

FUSE¤ 20A

SN: 10001-29999

5шт.

17

283-06-16120

COVER

SN: 10001-@

2шт.

18

207-06-31160

BUZZER

SN: 20001-@

1шт.

19

01220-40412

SCREW

SN: 20001-@

2шт.

20

01641-20405

WASHER

SN: 20001-@

2шт.

21

419-06-17110

ODOMETER

SN: 10001-@

1шт.

22

419-06-11141

BRACKET

SN: 20001-@

1шт.

23

01435-00616

BOLT

SN: .-@

3шт.

|23

0

BOLT

SN: 20001-.

3шт.

24

01643-30623

WASHER

SN: 10001-.

3шт.

25

283-06-17120

CLIP

SN: 10001-@

3шт.

26

421-06-12610

CLIP

SN: 10001-@

3шт.

27

01220-40608

SCREW

SN: 20001-@

6шт.

28

01641-20608

WASHER

SN: 20001-@

6шт.

29

08036-03014

CLIP

SN: 10001-@

1шт.

30

01010-51016

BOLT

SN: 10001-@

1шт.

31

01643-31032

WASHER

SN: 10001-@

1шт.

32

08036-10614

CLIP

SN: 10001-@

1шт.

33

08037-02512

GROMMET

SN: 10001-@

1шт.

Выбрано товаров: 0