Запчасти Komatsu WA200-1 КОНДИЦ. ВОЗДУХА (/) (NIPPON DENSO)(№9-) РАМА И ЧАСТИ КОРПУСА

Схема запчастей Komatsu WA200-1 - КОНДИЦ. ВОЗДУХА (/) (NIPPON DENSO)(№9-) РАМА И ЧАСТИ КОРПУСА
FIT
1:1
100%

Артикул

Название

Примечание

Количество

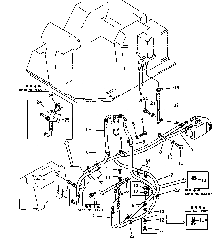
1

418-T46-1120

HOSE

SN: 20092-UP

1шт.

2

418-T46-1130

HOSE

SN: 20092-UP

1шт.

3

424-09-12550

CLIP

SN: 20092-UP

2шт.

4

01435-01016

BOLT

SN: .-UP

1шт.

|4

0

BOLT

SN: 20092-.

1шт.

5

01643-31032

WASHER

SN: 20092-.

1шт.

6

419-963-1450

HOSE

SN: 20092-UP

1шт.

7

419-963-1470

HOSE

SN: 20092-UP

1шт.

8

419-963-1430

CLIP

SN: 20092-UP

2шт.

9

424-09-12550

CLIP

SN: 20092-UP

1шт.

10

424-06-12790

CLIP

SN: 20092-UP

1шт.

11

01010-51020

BOLT

SN: 30001-UP

2шт.

|11

01010-51020

BOLT

SN: 20092-29999

3шт.

11A

01435-01020

BOLT

SN: 30001-UP

1шт.

12

01643-31032

WASHER

SN: 30001-UP

2шт.

|12

01643-31032

WASHER

SN: 20092-29999

4шт.

13

01584-01008

NUT

SN: 30001-UP

1шт.

|13

01580-11008

NUT

SN: 20092-29999

1шт.

14

424-06-12790

CLIP

SN: 20092-UP

2шт.

15

01435-01016

BOLT

SN: .-UP

2шт.

|15

0

BOLT

SN: 20092-.

2шт.

16

01643-31032

WASHER

SN: 20092-.

2шт.

17

425-963-1190

HOSE

SN: 20092-UP

1шт.

18

07281-00259

CLAMP

SN: 20092-UP

1шт.

19

08036-01814

CLIP

SN: 20092-UP

1шт.

20

01435-01216

BOLT

SN: 30001-UP

1шт.

|20

01010-51220

BOLT

SN: 20092-29999

1шт.

21

01643-31232

WASHER

SN: 20092-UP

1шт.

22

08034-20536

BAND

SN: .-UP

4шт.

|22

08034-00823

BAND

SN: 20092-.

4шт.

23

08034-20536

BAND

SN: .-UP

2шт.

|23

08034-00536

BAND

SN: 20092-.

2шт.

24

423-878-1560

COVER

SN: 30029-UP

1шт.

25

08034-20536

BAND

SN: 30029-UP

3шт.

Выбрано товаров: 34