Запчасти Komatsu WA200-1 ГИДРОЛИНИЯ (/)(№-) УПРАВЛ-Е РАБОЧИМ ОБОРУДОВАНИЕМ

Схема запчастей Komatsu WA200-1 - ГИДРОЛИНИЯ (/)(№-) УПРАВЛ-Е РАБОЧИМ ОБОРУДОВАНИЕМ
FIT
1:1
100%

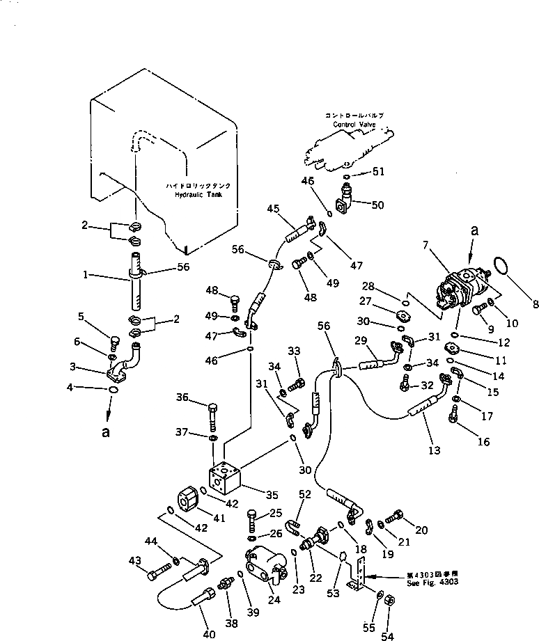
Артикул

Название

Примечание

Количество

1

07260-04140

HOSE

SN: 10001-UP

1шт.

2

07281-00609

CLAMP

SN: 10001-UP

4шт.

3

418-62-13520

TUBE

SN: 10001-UP

1шт.

4

07000-13048

O-RING

SN: 10001-UP

1шт.

5

01010-51240

BOLT

SN: 10001-UP

4шт.

6

01643-31232

WASHER

SN: 10001-UP

4шт.

7

705-51-20290

PUMP ASS'Y

SN: 30625-UP

1шт.

|7

0

PUMP ASS'Y

SN: 20001-30624

1шт.

8

07000-02105

O-RING

SN: 10001-UP

1шт.

9

01010-31235

BOLT

SN: 10001-UP

2шт.

10

01643-31232

WASHER

SN: 10001-UP

2шт.

11

07373-10600

SPACER

SN: 10001-UP

1шт.

12

07000-13025

O-RING

SN: 10001-UP

1шт.

13

418-62-13860

HOSE

SN: 20001-UP

1шт.

14

07000-13025

O-RING

SN: 10001-UP

1шт.

15

07371-30638

FLANGE,SPLIT

SN: 10001-UP

2шт.

16

01010-50835

BOLT

SN: 10001-UP

4шт.

17

01643-50823

WASHER

SN: 10001-UP

4шт.

18

07000-13032

O-RING

SN: 10001-UP

1шт.

19

07371-31049

FLANGE,SPLIT

SN: 20001-UP

2шт.

20

07372-01035

BOLT

SN: 10001-UP

4шт.

21

01643-51032

WASHER

SN: 10001-UP

4шт.

22

418-62-13890

TUBE

SN: 20001-UP

1шт.

23

418-62-11630

O-RING

SN: 20001-UP

1шт.

24

418-64-15200

VALVE ASS'Y,PRIORITY

SN: 20001-UP

1шт.

25

01010-50885

BOLT

SN: 20001-UP

2шт.

26

01643-30823

WASHER

SN: 20001-UP

2шт.

27

07373-10600

SPACER

SN: 10001-UP

1шт.

28

07000-13025

O-RING

SN: 10001-UP

1шт.

29

418-62-13871

HOSE

SN: 10001-UP

1шт.

30

07000-13025

O-RING

SN: 10001-UP

2шт.

31

07371-30638

FLANGE,SPLIT

SN: 10001-UP

4шт.

32

01010-50835

BOLT

SN: 10001-UP

4шт.

33

01010-30830

BOLT

SN: 10001-UP

4шт.

34

01643-50823

WASHER

SN: 10001-UP

8шт.

35

418-62-13930

BLOCK

SN: 20001-UP

1шт.

36

01011-51015

BOLT

SN: 20201-UP

4шт.

|36

0

BOLT

SN: 20001-20200

4шт.

37

01643-31032

WASHER

SN: 20001-UP

4шт.

38

418-62-13910

UNION

SN: 20001-UP

1шт.

39

418-62-11630

O-RING

SN: 20001-UP

1шт.

40

418-62-13920

TUBE

SN: 20001-UP

1шт.

41

702-13-23902

VALVE ASS'Y,CHECK

SN: 30227-UP

1шт.

|41

0

VALVE ASS'Y,CHECK

SN: 20001-30226

1шт.

42

07000-13035

O-RING

SN: 20001-UP

2шт.

43

01011-51010

BOLT

SN: 20001-UP

4шт.

44

01643-31032

WASHER

SN: 20001-UP

4шт.

45

07124-01208

HOSE

SN: 20001-UP

1шт.

46

07000-13038

O-RING

SN: 20001-UP

2шт.

47

07371-31255

FLANGE,SPLIT

SN: 20001-UP

4шт.

48

07372-01035

BOLT

SN: 20001-UP

8шт.

49

01643-51032

WASHER

SN: 20001-UP

8шт.

50

418-62-13940

ELBOW

SN: 20001-UP

1шт.

51

07002-13334

O-RING

SN: 20001-UP

1шт.

52

07283-23450

CLIP

SN: 20001-UP

1шт.

53

07283-53444

SEAT

SN: 20001-UP

1шт.

54

01599-01011

NUT

SN: 20001-UP

2шт.

55

01643-31032

WASHER

SN: 20001-UP

2шт.

56

08034-20536

BAND

SN: .-UP

3шт.

|56

08034-00536

BAND

SN: 20001-.

3шт.

Выбрано товаров: 60