Запчасти Komatsu WA200-1 ГИДРОЛИНИЯ (/) (ДЛЯ ПЕРЕДН. НАВЕСН. ОБОРУД)(№-9999) УПРАВЛ-Е РАБОЧИМ ОБОРУДОВАНИЕМ

Схема запчастей Komatsu WA200-1 - ГИДРОЛИНИЯ (/) (ДЛЯ ПЕРЕДН. НАВЕСН. ОБОРУД)(№-9999) УПРАВЛ-Е РАБОЧИМ ОБОРУДОВАНИЕМ
FIT
1:1
100%

Артикул

Название

Примечание

Количество

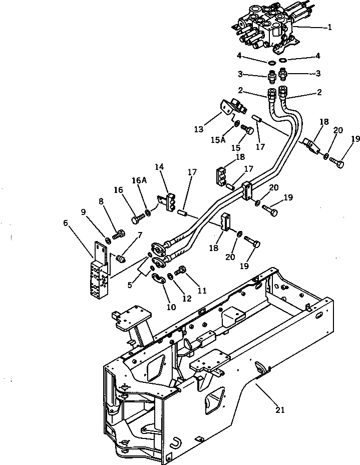
1

700-83-27002

VALVE ASS'Y,3-SPOOL

SN: 10001-19999

1шт.

2

418-877-1390

HOSE

SN: 10001-@

2шт.

3

418-62-13550

UNION

SN: 10001-@

2шт.

4

07002-12434

O-RING

SN: 10001-@

2шт.

5

07000-13025

O-RING

SN: 10001-@

2шт.

6

418-877-1161

BLOCK

SN: 10001-19999

1шт.

7

07042-20108

PLUG

SN: 10001-19999

1шт.

8

01010-51235

BOLT

SN: 10001-19999

2шт.

9

01643-31232

WASHER

SN: 10001-@

2шт.

10

07371-30638

FLANGE,SPLIT

SN: 10001-@

4шт.

11

01010-50830

BOLT

SN: 10001-@

8шт.

12

01643-50823

WASHER

SN: 10001-@

8шт.

13

418-877-1380

PLATE

SN: 10001-@

1шт.

14

418-877-1110

BRACKET

SN: 10001-@

1шт.

15

01010-51225

BOLT

SN: 10001-@

2шт.

15A

01643-31232

WASHER

SN: 10001-@

2шт.

16

01010-51230

BOLT

SN: 10001-@

2шт.

16A

01643-31232

WASHER

SN: 10001-@

2шт.

17

418-877-1130

SPACER

SN: 10001-@

6шт.

18

418-877-1140

CLAMP

SN: 10001-@

4шт.

19

01010-51090

BOLT

SN: 10001-@

6шт.

20

01643-31032

WASHER

SN: 10001-@

6шт.

21

418-877-1290

FRAME,REAR (MODIFIED PART)

SN: 10001-19999

1шт.

Выбрано товаров: 23