Запчасти Komatsu WA200-1 ОСНОВН. КОНСТРУКЦИЯ И ПРИБОРНАЯ ПАНЕЛЬ (ДЛЯ КАБИНА ДЛЯ 2 ЧЕЛ.)(№-7) СПЕЦ. APPLICATION ЧАСТИ

Схема запчастей Komatsu WA200-1 - ОСНОВН. КОНСТРУКЦИЯ И ПРИБОРНАЯ ПАНЕЛЬ (ДЛЯ КАБИНА ДЛЯ 2 ЧЕЛ.)(№-7) СПЕЦ. APPLICATION ЧАСТИ
FIT
1:1
100%

Артикул

Название

Примечание

Количество

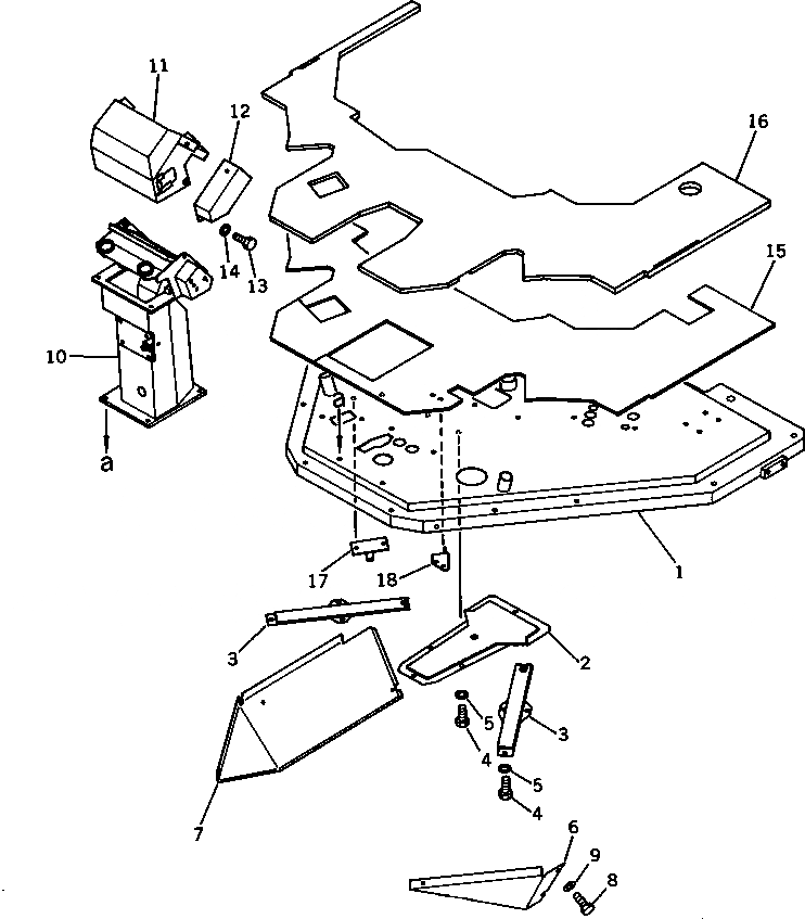
1

418-944-1111

FRAME,FLOOR

SN: 10001-@

1шт.

2

418-944-1310

COVER

SN: 10001-@

1шт.

3

418-944-1330

COVER

SN: 10001-@

2шт.

4

01010-50816

BOLT

SN: 10001-@

15шт.

5

01643-30823

WASHER

SN: 10001-@

15шт.

6

418-944-1550

COVER,L.H.

SN: 10001-@

1шт.

7

418-944-1560

COVER,R.H.

SN: 10001-@

1шт.

8

01010-51455

BOLT

SN: 10001-@

6шт.

9

01643-31445

WASHER

SN: 10001-@

6шт.

10

418-944-1790

SUPPORT

SN: 10001-@

1шт.

11

418-944-1830

COVER

SN: 10001-11076

1шт.

12

418-944-1820

COVER

SN: 10001-11076

1шт.

13

01010-50816

BOLT

SN: 10001-@

2шт.

14

01643-30823

WASHER

SN: 10001-@

2шт.

15

418-944-1730

SHEET

SN: 10001-@

1шт.

16

418-944-1670

MAT

SN: 10001-@

1шт.

17

418-944-1850

BRACKET

SN: 10001-@

1шт.

18

418-944-1241

BRACKET

SN: 10001-@

1шт.

Выбрано товаров: 18