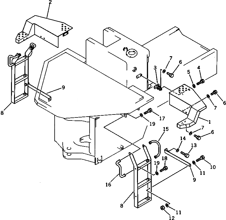
Запчасти Komatsu WA200-1 КРЫЛО И ЛЕСТНИЦА (ДЛЯ КАБИНА ДЛЯ 2 ЧЕЛ.)(№-9999) СПЕЦ. APPLICATION ЧАСТИ

Схема запчастей Komatsu WA200-1 - КРЫЛО И ЛЕСТНИЦА (ДЛЯ КАБИНА ДЛЯ 2 ЧЕЛ.)(№-9999) СПЕЦ. APPLICATION ЧАСТИ
FIT
1:1
100%

Артикул

Название

Примечание

Количество

1

418-944-1470

FENDER,L.H.

SN: 10001-19999

1шт.

2

418-944-1480

FENDER,R.H.

SN: 10001-19999

1шт.

3

418-944-1490

BRACKET

SN: 10001-19999

2шт.

4

01010-51230

BOLT

SN: 10001-19999

4шт.

5

01643-31232

WASHER

SN: 10001-19999

4шт.

6

01010-51225

BOLT

SN: 10001-@

16шт.

7

01643-31232

WASHER

SN: 10001-@

16шт.

8

418-944-1510

LADDER

SN: 10001-@

2шт.

9

418-944-1520

SUPPORT

SN: 10001-@

2шт.

10

01010-51235

BOLT

SN: 10001-@

2шт.

11

01643-31232

WASHER

SN: 10001-@

4шт.

12

01580-11210

NUT

SN: 10001-@

2шт.

13

01010-51235

BOLT

SN: 10001-@

2шт.

14

01643-31232

WASHER

SN: 10001-@

2шт.

15

418-944-1540

HANDRAIL

SN: 10001-@

2шт.

16

418-944-1530

HANDRAIL

SN: 10001-@

2шт.

17

01010-51235

BOLT

SN: 10001-@

4шт.

18

01010-51230

BOLT

SN: 10001-@

4шт.

19

01643-31232

WASHER

SN: 10001-@

8шт.

Выбрано товаров: 19