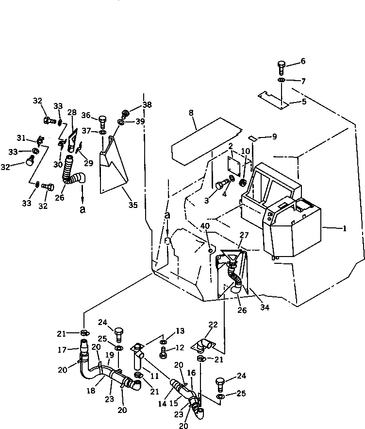
Запчасти Komatsu WA200-1 КОНДИЦ.DITUINER (ДЛЯ КАБИНА ДЛЯ 2 ЧЕЛ.)(№-) СПЕЦ. APPLICATION ЧАСТИ

Схема запчастей Komatsu WA200-1 - КОНДИЦ.DITUINER (ДЛЯ КАБИНА ДЛЯ 2 ЧЕЛ.)(№-) СПЕЦ. APPLICATION ЧАСТИ
FIT
1:1
100%

Артикул

Название

Примечание

Количество

1

418-U54-1102

AIR CONDITIONER UNIT,(DENSO) (MODIFIED PARTS)

SN: .-UP

1шт.

|1

418-U54-1100

AIR CONDITIONER UNIT,(DAIKIN)

SN: 10001-.

1шт.

2

418-U54-1180

PLATE

SN: 20001-UP

1шт.

3

01010-50616

BOLT

SN: 10001-UP

4шт.

4

01643-30623

WASHER

SN: 10001-UP

4шт.

5

418-U54-1170

BRACKET

SN: 20001-UP

1шт.

6

01010-50616

BOLT

SN: 10001-UP

2шт.

7

01643-30623

WASHER

SN: 10001-UP

2шт.

8

418-U54-1152

MAT

SN: 30001-UP

1шт.

|8

418-U54-1151

MAT

SN: 20001-29999

1шт.

9

418-U54-1160

SHEET

SN: 10001-29999

1шт.

10

426-09-11220

GROMMET

SN: 30001-UP

1шт.

|10

08037-05016

GROMMET

SN: 10001-29999

1шт.

11

418-943-1410

TUBE

SN: 20001-UP

1шт.

12

01010-50816

BOLT

SN: 20001-UP

2шт.

13

01643-30823

WASHER

SN: 20001-UP

2шт.

14

418-943-1431

HOSE

SN: 30001-UP

1шт.

|14

418-943-1430

HOSE

SN: 20001-29999

1шт.

15

418-943-1461

COVER

SN: 30001-UP

1шт.

|15

418-943-1460

COVER

SN: 20001-29999

1шт.

16

418-943-1491

COVER

SN: 30001-UP

1шт.

|16

418-943-1490

COVER

SN: 20001-29999

1шт.

17

418-943-1441

HOSE

SN: 30001-UP

1шт.

|17

418-943-1440

HOSE

SN: 20001-29999

1шт.

18

418-943-1471

COVER

SN: 30001-UP

1шт.

|18

418-943-1470

COVER

SN: 20001-29999

1шт.

19

418-943-1511

COVER

SN: 30001-UP

1шт.

|19

418-943-1510

COVER

SN: 20001-29999

1шт.

20

08034-00536

BAND

SN: 20001-UP

5шт.

21

07281-00609

CLAMP

SN: 20001-UP

3шт.

22

418-943-1421

TUBE

SN: 30001-UP

1шт.

|22

418-943-1420

TUBE

SN: 20001-29999

1шт.

23

418-943-1450

CLIP

SN: 20001-UP

2шт.

24

01010-51020

BOLT

SN: 20001-UP

2шт.

25

01643-31032

WASHER

SN: 20001-UP

2шт.

26

418-943-1131

HOSE

SN: 20001-UP

2шт.

27

418-943-1140

DEFROSTER,L.H.

SN: 10001-UP

1шт.

28

418-943-1150

DEFROSTER,R.H.

SN: 10001-UP

1шт.

29

418-943-1180

CLAMP

SN: 10001-UP

2шт.

30

418-943-1170

PLATE

SN: 10001-UP

2шт.

31

418-943-1160

PLATE

SN: 10001-UP

2шт.

32

01010-50612

BOLT

SN: 10001-UP

12шт.

33

01643-30623

WASHER

SN: 10001-UP

12шт.

34

418-943-1372

COVER,L.H.

SN: 20001-UP

1шт.

35

418-943-1262

COVER,R.H.

SN: 20001-UP

1шт.

36

01010-50612

BOLT

SN: 10001-UP

2шт.

37

01643-30623

WASHER

SN: 10001-UP

2шт.

38

01220-40612

SCREW

SN: 10001-UP

6шт.

39

01643-30623

WASHER

SN: 10001-UP

6шт.

40

09415-00506

CAP

SN: 10001-UP

1шт.

Выбрано товаров: 50