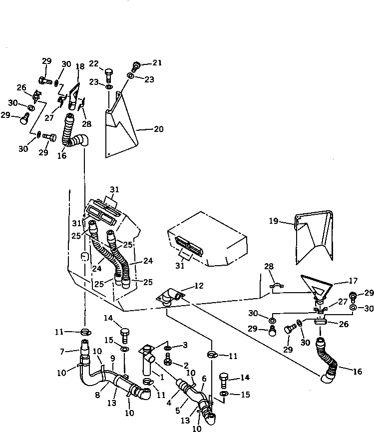
Запчасти Komatsu WA200-1 ОБОГРЕВАТЕЛЬ. (/) (ДЛЯ КАБИНА ДЛЯ 2 ЧЕЛ.)(№-) СПЕЦ. APPLICATION ЧАСТИ

Схема запчастей Komatsu WA200-1 - ОБОГРЕВАТЕЛЬ. (/) (ДЛЯ КАБИНА ДЛЯ 2 ЧЕЛ.)(№-) СПЕЦ. APPLICATION ЧАСТИ
FIT
1:1
100%

Артикул

Название

Примечание

Количество

1

418-943-1410

TUBE

SN: 20001-UP

1шт.

2

01435-00816

BOLT

SN: 30001-UP

2шт.

|2

01010-50816

BOLT

SN: 20001-29999

2шт.

3

01643-30823

WASHER

SN: 20001-29999

2шт.

4

418-943-1131

HOSE

SN: 30001-UP

1шт.

|4

418-943-1430

HOSE

SN: 20001-29999

1шт.

5

418-943-1461

COVER

SN: 30001-UP

1шт.

|5

418-943-1460

COVER

SN: 20001-29999

1шт.

6

418-943-1491

COVER

SN: 30001-UP

1шт.

|6

418-943-1490

COVER

SN: 20001-29999

1шт.

7

418-943-1441

HOSE

SN: 30001-UP

1шт.

|7

418-943-1440

HOSE

SN: 20001-29999

1шт.

8

418-943-1471

COVER

SN: 30001-UP

1шт.

|8

418-943-1470

COVER

SN: 20001-29999

1шт.

9

418-943-1511

COVER

SN: 30001-UP

1шт.

|9

418-943-1510

COVER

SN: 20001-29999

1шт.

10

08034-00536

BAND

SN: 20001-UP

5шт.

11

07281-00609

CLAMP

SN: 20001-UP

3шт.

12

418-943-1421

TUBE

SN: 30001-UP

1шт.

|12

418-943-1420

TUBE

SN: 20001-29999

1шт.

13

418-943-1450

CLIP

SN: 20001-UP

2шт.

14

01435-01020

BOLT

SN: 30001-UP

2шт.

|14

01010-51020

BOLT

SN: 20001-29999

2шт.

15

01643-31032

WASHER

SN: 20001-29999

2шт.

16

418-943-1131

HOSE

SN: 20001-UP

2шт.

17

418-943-1140

DEFROSTER

SN: 10001-UP

1шт.

18

418-943-1150

DEFROSTER

SN: 10001-UP

1шт.

19

418-943-1372

COVER

SN: 20001-UP

1шт.

20

418-943-1262

COVER

SN: 20001-UP

1шт.

21

01220-40612

SCREW

SN: .-UP

6шт.

22

01435-00610

BOLT

SN: 30001-UP

2шт.

|22

01010-50612

BOLT

SN: .-29999

2шт.

23

01643-30623

WASHER

SN: 30001-UP

6шт.

|23

01643-30623

WASHER

SN: 10001-29999

8шт.

24

421-07-12831

HOSE

SN: 10001-UP

2шт.

25

421-07-12810

CONNECTOR

SN: 10001-UP

4шт.

26

418-943-1160

PLATE

SN: 10001-UP

2шт.

27

418-943-1170

PLATE

SN: 10001-UP

2шт.

28

418-943-1180

CLAMP

SN: 10001-UP

2шт.

29

01435-00610

BOLT

SN: 30001-UP

12шт.

|29

01010-50612

BOLT

SN: 10001-29999

12шт.

30

01643-30623

WASHER

SN: 10001-29999

12шт.

31

421-07-12512

GRILLE ASS'Y

SN: 10001-UP

6шт.

Выбрано товаров: 43