Запчасти Komatsu WA200-1 БОКОВ. СДВИГ¤ PITCH И ANGLE SNOW PНИЗ. (ЦИЛИНДР НАКЛОНА ЛИНИЯ) (С ГИДРАВЛ СОЕДИНИТ. УСТР-ВО)(№-()) СПЕЦ. APPLICATION ЧАСТИ

Схема запчастей Komatsu WA200-1 - БОКОВ. СДВИГ¤ PITCH И ANGLE SNOW PНИЗ. (ЦИЛИНДР НАКЛОНА ЛИНИЯ)   (С ГИДРАВЛ СОЕДИНИТ. УСТР-ВО)(№-()) СПЕЦ. APPLICATION ЧАСТИ
FIT
1:1
100%

Артикул

Название

Примечание

Количество

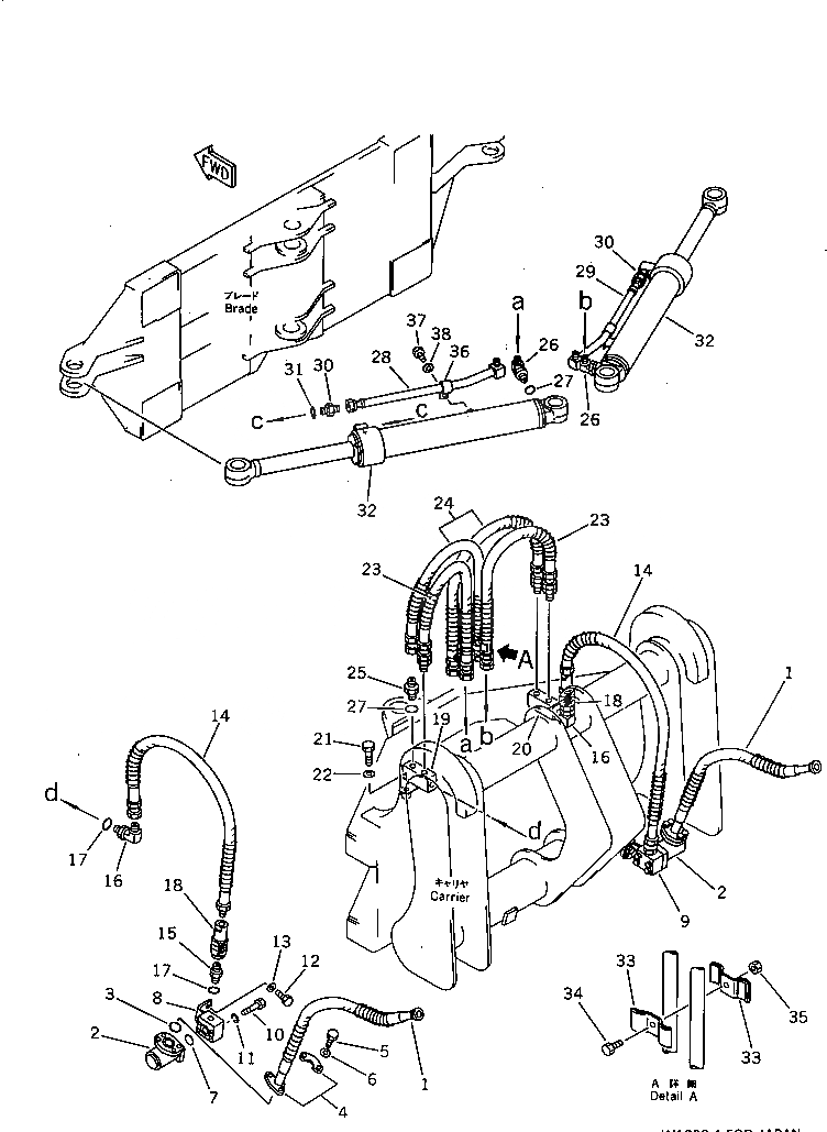
1

419-915-1210

HOSE

SN: 10001-@

2шт.

2

07128-00600

JOINT,SWIVEL

SN: 10001-@

2шт.

3

07000-13025

O-RING

SN: 10001-@

2шт.

4

07371-30638

FLANGE,SPLIT

SN: 10001-@

4шт.

5

01010-30830

BOLT

SN: 10001-@

8шт.

6

01643-50823

WASHER

SN: 10001-@

8шт.

7

07000-13030

O-RING

SN: 10001-@

2шт.

8

418-915-1310

ELBOW

SN: 10001-@

1шт.

9

418-915-1320

ELBOW

SN: 10001-@

1шт.

10

01010-30860

BOLT

SN: 10001-@

8шт.

11

01602-20825

WASHER,SPRING

SN: 10001-@

8шт.

12

01010-31020

BOLT

SN: 10001-@

4шт.

13

01643-31032

WASHER

SN: 10001-@

4шт.

14

423-915-1240

HOSE

SN: 10001-@

2шт.

15

423-915-1450

UNION

SN: 10001-@

2шт.

16

07235-10628

ELBOW

SN: 10001-@

2шт.

17

07002-12434

O-RING

SN: 10001-@

4шт.

18

423-915-1310

JOINT ASS'Y

SN: 10001-@

2шт.

19

418-915-1510

BLOCK

SN: 10001-(004)

1шт.

20

418-915-1530

BLOCK

SN: 10001-(004)

1шт.

21

01010-31020

BOLT

SN: 10001-(004)

2шт.

22

01643-31032

WASHER

SN: 10001-(004)

2шт.

23

07123-20409

HOSE

SN: 10001-@

2шт.

24

07123-20410

HOSE

SN: 10001-(004)

2шт.

25

07230-10422

UNION

SN: 10001-(004)

4шт.

26

07235-10422

ELBOW

SN: 10001-@

2шт.

27

07002-12034

O-RING

SN: 10001-@

6шт.

28

418-904-1330

TUBE

SN: 10001-(004)

1шт.

29

418-904-1340

TUBE

SN: 10001-(004)

1шт.

30

07230-10422

UNION

SN: 10001-(004)

2шт.

31

07002-12034

O-RING

SN: 10001-@

2шт.

32

707-00-90221

CYLINDER ASS'Y

SN: 10001-(004)

2шт.

33

156-61-11590

CLAMP

SN: 10001-(004)

4шт.

34

01010-31020

BOLT

SN: 10001-(004)

2шт.

35

01598-01011

NUT

SN: 10001-(004)

2шт.

36

140-06-18440

CLIP

SN: 10001-(004)

2шт.

37

01010-31220

BOLT

SN: 10001-(004)

2шт.

38

01643-31232

WASHER

SN: 10001-(004)

2шт.

Выбрано товаров: 38