Запчасти Komatsu WA200-1 БОКОВ. СДВИГ¤ PITCH И ANGLE SNOW PНИЗ. (БОКОВ. СДВИГ ЛИНИЯ ЦИЛИНДРА) (С ГИДРАВЛ СОЕДИНИТ. УСТР-ВО) СПЕЦ. APPLICATION ЧАСТИ

Схема запчастей Komatsu WA200-1 - БОКОВ. СДВИГ¤ PITCH И ANGLE SNOW PНИЗ. (БОКОВ. СДВИГ ЛИНИЯ ЦИЛИНДРА) (С ГИДРАВЛ СОЕДИНИТ. УСТР-ВО) СПЕЦ. APPLICATION ЧАСТИ
FIT
1:1
100%

Артикул

Название

Примечание

Количество

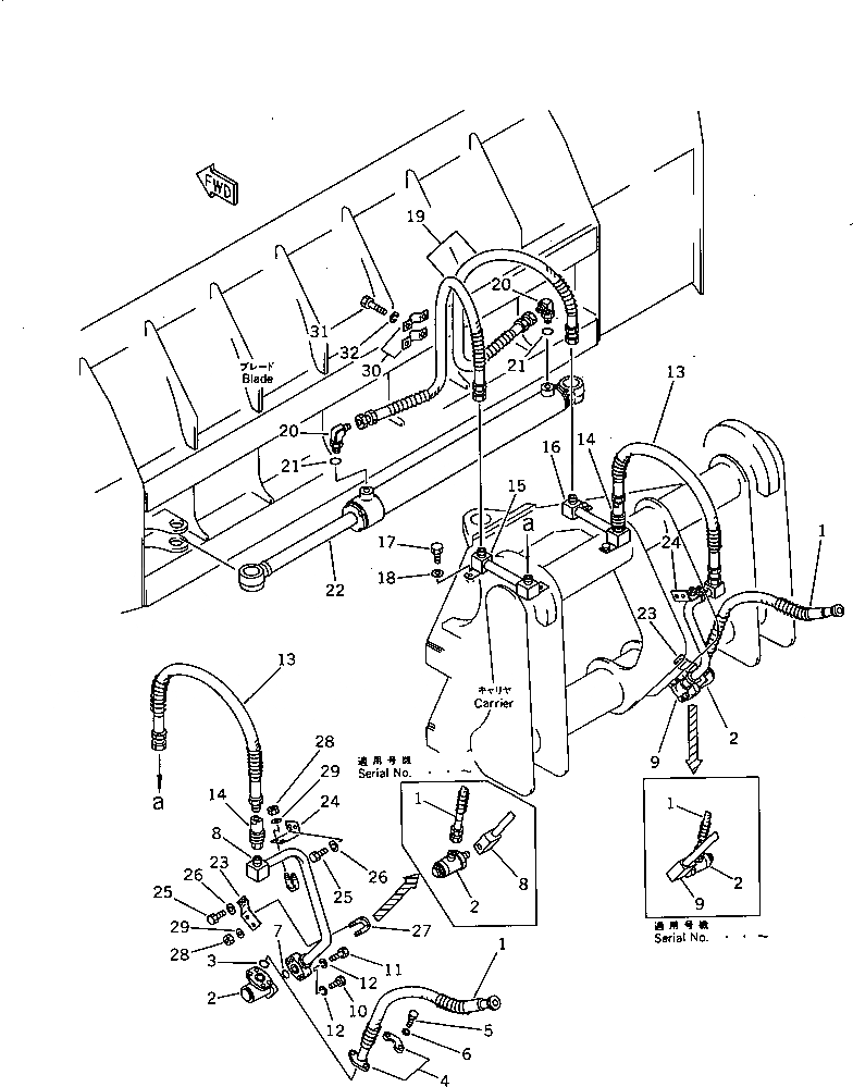
1

419-915-1211

HOSE

SN: ..-UP

2шт.

|1

419-915-1210

HOSE

SN: 10001-..

2шт.

2

41H-62-13300

JOINT,SWIVEL

SN: ..-UP

2шт.

|2

07128-10600

JOINT,SWIVEL

SN: .-..

2шт.

|2

07128-00600

JOINT,SWIVEL

SN: 10001-.

2шт.

3

07000-13025

O-RING

SN: 10001-..

2шт.

4

07371-30638

FLANGE,SPLIT

SN: 10001-..

4шт.

5

01010-30830

BOLT

SN: 10001-..

8шт.

6

01643-50823

WASHER

SN: 10001-..

8шт.

7

07000-13030

O-RING

SN: 10001-..

2шт.

8

418-915-1211

TUBE

SN: ..-UP

1шт.

|8

418-915-1210

TUBE

SN: 10001-..

1шт.

9

418-915-1221

TUBE

SN: ..-UP

1шт.

|9

418-915-1220

TUBE

SN: 10001-..

1шт.

10

01010-30840

BOLT

SN: 10001-..

4шт.

11

01010-30855

BOLT

SN: 10001-..

4шт.

12

01602-00825

WASHER,SPRING

SN: 10001-..

8шт.

13

423-915-1240

HOSE

SN: 10001-UP

2шт.

14

423-915-1310

JOINT ASS'Y

SN: 10001-UP

2шт.

15

418-915-1230

TUBE

SN: 10001-UP

1шт.

16

418-915-1240

TUBE

SN: 10001-UP

1шт.

17

01010-31035

BOLT

SN: 10001-UP

4шт.

18

01643-31032

WASHER

SN: 10001-UP

4шт.

19

07123-20514

HOSE

SN: 10001-UP

2шт.

20

07235-10522

ELBOW

SN: 10001-UP

2шт.

21

07002-12434

O-RING

SN: 10001-UP

2шт.

22

707-00-70140

CYLINDER ASS'Y

SN: 10001-UP

1шт.

23

418-915-1330

PLATE

SN: 10001-UP

2шт.

24

418-915-1340

PLATE

SN: 10001-UP

2шт.

25

01010-31020

BOLT

SN: 10001-UP

8шт.

26

01643-31032

WASHER

SN: 10001-UP

8шт.

27

07283-22738

CLIP

SN: 10001-UP

4шт.

28

01599-01011

NUT

SN: 10001-UP

8шт.

29

01643-31032

WASHER

SN: 10001-UP

8шт.

30

418-905-1390

CLAMP

SN: 10001-UP

2шт.

31

01010-30816

BOLT

SN: 10001-UP

3шт.

32

01602-00825

WASHER,SPRING

SN: 10001-UP

3шт.

Выбрано товаров: 37