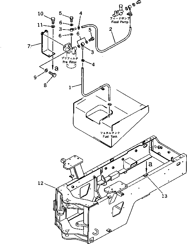
Запчасти Komatsu WA200-1 PRE-ФИЛЬТР. ТРУБЫ КОМПОНЕНТЫ ДВИГАТЕЛЯ И ЭЛЕКТРИКА

Схема запчастей Komatsu WA200-1 - PRE-ФИЛЬТР. ТРУБЫ КОМПОНЕНТЫ ДВИГАТЕЛЯ И ЭЛЕКТРИКА
FIT
1:1
100%

Артикул

Название

Примечание

Количество

1

07270-41010

TUBE

SN: 10001-UP

1шт.

2

07270-21060

TUBE

SN: 10001-UP

1шт.

3

419-04-10130

JOINT

SN: 10001-UP

2шт.

4

07281-00197

CLAMP

SN: 10001-UP

2шт.

5

07206-11014

BOLT,JOINT

SN: 10001-UP

2шт.

6

07005-01412

GASKET

SN: 10001-UP

4шт.

7

41B-04-13110

BRACKET

SN: 10001-UP

1шт.

8

01010-51030

BOLT

SN: 10001-UP

2шт.

9

01643-31032

WASHER

SN: 10001-UP

2шт.

10

01010-51020

BOLT

SN: 10001-UP

2шт.

11

01643-31032

WASHER

SN: 10001-UP

2шт.

12

418-Z00-1100

FRAME,REAR (MODIFIED PART)

SN: 10001-UP

1шт.

13

01573-20208

SEAT (WELDED)

SN: 10001-UP

1шт.

14

08034-20519

BAND

SN: .-UP

2шт.

|14

08034-00519

BAND

SN: 10001-.

2шт.

Выбрано товаров: 15