Запчасти Komatsu WA200-1 MULTI ОТВАЛ НЕСУЩИЙ ЭЛЕМЕНТ (С ГИДРАВЛ СОЕДИНИТ. УСТР-ВО)(№-) СПЕЦ. APPLICATION ЧАСТИ

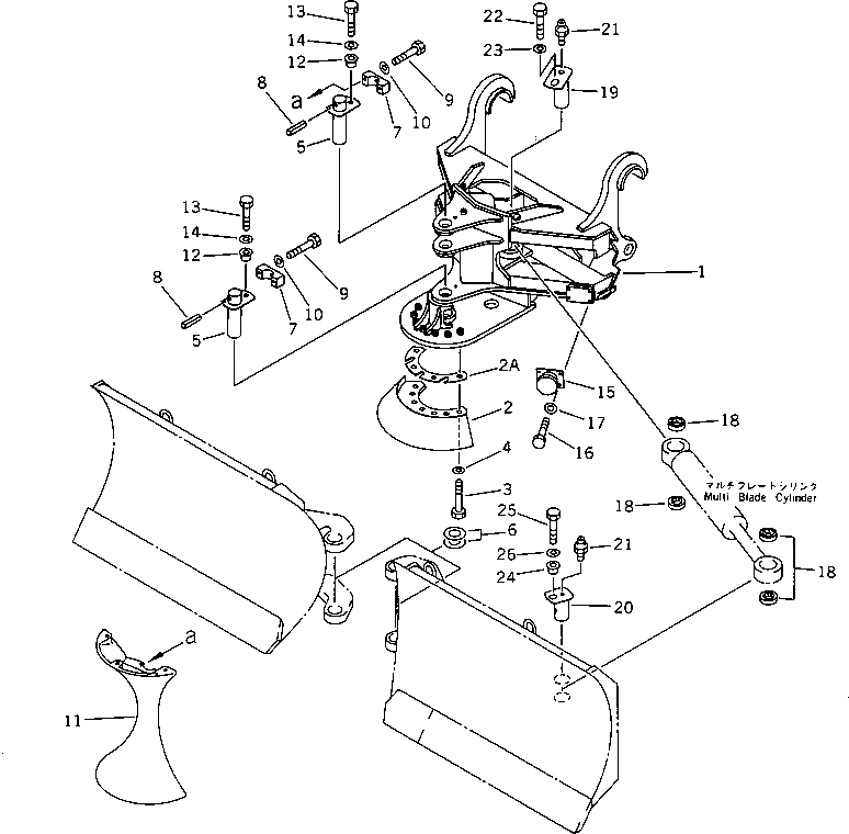
Схема запчастей Komatsu WA200-1 - MULTI ОТВАЛ НЕСУЩИЙ ЭЛЕМЕНТ (С ГИДРАВЛ СОЕДИНИТ. УСТР-ВО)(№-) СПЕЦ. APPLICATION ЧАСТИ
FIT
1:1
100%

Артикул

Название

Примечание

Количество

1

418-S73-1330

CARRIER,(FOR TALL 1200MM)

SN: .-UP

1шт.

|1

418-S73-1150

CARRIER,(FOR TALL 1000MM)

SN: 30001-.

1шт.

2

419-S72-1141

EDGE,(FOR TALL 1200MM)

SN: .-UP

1шт.

|2

418-S72-1140

EDGE,(FOR TALL 1000MM)

SN: 30001-.

1шт.

2A

419-S72-1210

PLATE,(FOR TALL 1200MM)

SN: .-UP

1шт.

3

01010-32070

BOLT

SN: 30001-UP

7шт.

4

01643-32060

WASHER

SN: 30001-UP

7шт.

5

418-S72-1160

PIN

SN: 30001-UP

2шт.

6

425-46-12310

SHIM¤ 1.0MM

SN: 30001-UP

3шт.

|6

417-70-11310

SHIM¤ 1.5MM

SN: 30001-UP

8шт.

7

418-S72-1180

BLOCK

SN: 30001-UP

2шт.

8

04025-01280

PIN,SPRING

SN: 30001-UP

2шт.

9

01010-31265

BOLT

SN: 30001-UP

4шт.

10

01643-31232

WASHER

SN: 30001-UP

4шт.

11

418-S72-1130

COVER

SN: 30001-UP

1шт.

12

424-46-11130

BUSHING

SN: 30001-UP

2шт.

13

01010-31230

BOLT

SN: 30001-UP

2шт.

14

01643-31232

WASHER

SN: 30001-UP

2шт.

15

418-S72-1191

STOPPER

SN: 30001-UP

2шт.

16

01010-31230

BOLT

SN: 30001-UP

8шт.

17

01643-31232

WASHER

SN: 30001-UP

8шт.

18

418-09-11110

SEAL,DUST

SN: 30001-UP

8шт.

19

418-70-11981

PIN

SN: 30001-UP

2шт.

20

417-46-11240

PIN

SN: 30001-UP

2шт.

21

07020-00000

FITTING,GREASE

SN: 30001-UP

4шт.

22

01010-31625

BOLT

SN: 30001-UP

2шт.

23

421-70-11280

WASHER

SN: 30001-UP

2шт.

24

424-46-11130

BUSHING

SN: 30001-UP

2шт.

25

01010-31230

BOLT

SN: 30001-UP

2шт.

26

01643-31232

WASHER

SN: 30001-UP

2шт.

Выбрано товаров: 30