Запчасти Komatsu WA200-1 SNOW КОВШ .M СПЕЦ. APPLICATION ЧАСТИ

Схема запчастей Komatsu WA200-1 - SNOW КОВШ .M СПЕЦ. APPLICATION ЧАСТИ
FIT
1:1
100%

Артикул

Название

Примечание

Количество

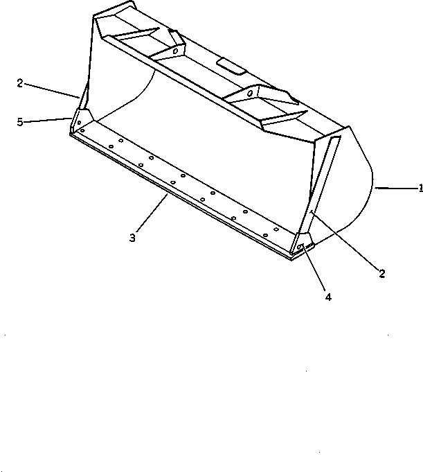
1

418-820-1111

BUCKET

SN: .-UP

1шт.

|1

0

BUCKET

SN: 10001-.

1шт.

2

418-820-1131

PLATE (WELDED)

SN: .-UP

2шт.

|2

0

PLATE (WELDED)

SN: 10001-.

2шт.

3

418-70-12121

EDGE (WELDED)

SN: 10001-UP

1шт.

4

418-70-12350

PLATE,L.H. (WELDED)

SN: .-UP

1шт.

|4

0

PLATE,L.H. (WELDED)

SN: 10001-.

1шт.

5

418-70-12360

PLATE,R.H. (WELDED)

SN: .-UP

1шт.

|5

0

PLATE,R.H. (WELDED)

SN: 10001-.

1шт.

Выбрано товаров: 9