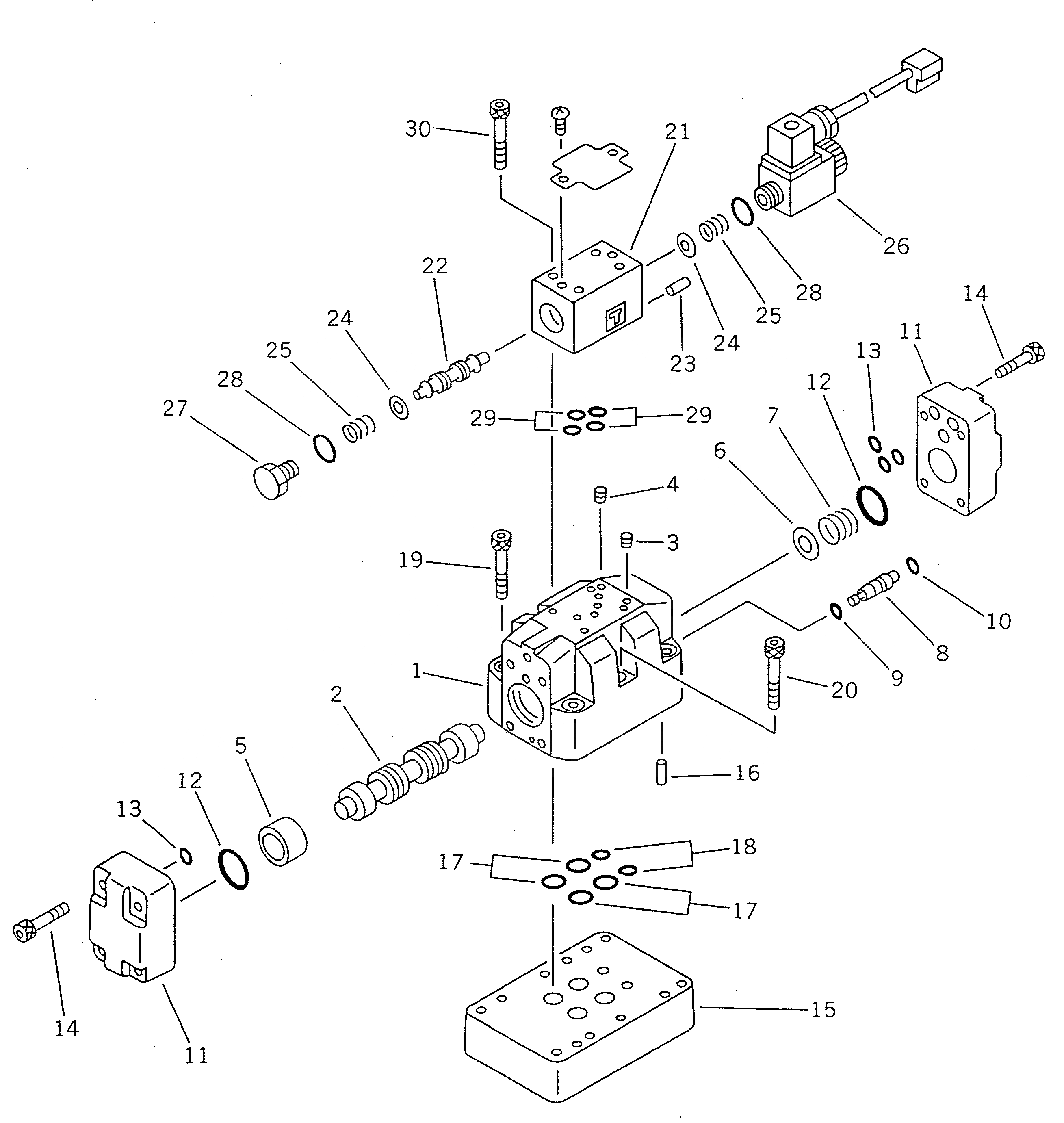
Запчасти Komatsu WA200-1 БОКОВ. СДВИГ УПРАВЛЯЮЩ. КЛАПАН (ДЛЯ S.P.A.P.)(№-9999) СПЕЦ. APPLICATION ЧАСТИ

Схема запчастей Komatsu WA200-1 - БОКОВ. СДВИГ УПРАВЛЯЮЩ. КЛАПАН (ДЛЯ S.P.A.P.)(№-9999) СПЕЦ. APPLICATION ЧАСТИ
FIT
1:1
100%

Артикул

Название

Примечание

Количество

|1

418-878-1440

VALVE ASS'Y

SN: 10001-29999

1шт.

|1

418-878-1630

BODY ASS'Y

SN: 10001-29999

1шт.

1

0

BODY

SN: 10001-29999

1шт.

2

0

SPOOL

SN: 10001-29999

1шт.

3

418-878-1730

PLUG

SN: 10001-29999

1шт.

4

418-878-1740

PLUG

SN: 10001-29999

2шт.

5

418-878-1690

RETAINER

SN: 10001-29999

1шт.

6

418-878-1840

RETAINER

SN: 10001-29999

1шт.

7

418-878-1680

SPRING

SN: 10001-29999

1шт.

8

418-878-1720

PLUG

SN: 10001-29999

1шт.

9

418-878-1810

O-RING

SN: 10001-29999

1шт.

10

418-878-1820

O-RING

SN: 10001-29999

1шт.

11

418-878-1710

COVER

SN: 10001-29999

2шт.

12

418-878-1780

O-RING

SN: 10001-29999

2шт.

13

418-878-1790

O-RING

SN: 10001-29999

4шт.

14

01252-30840

BOLT

SN: 10001-29999

8шт.

15

418-878-1830

PLATE

SN: 10001-29999

1шт.

16

418-878-1660

PIN

SN: 10001-29999

2шт.

17

418-878-1760

O-RING

SN: 10001-29999

4шт.

18

418-878-1770

O-RING

SN: 10001-29999

2шт.

19

01252-31060

BOLT

SN: 10001-29999

4шт.

20

01252-30660

BOLT

SN: 10001-29999

2шт.

|21

418-878-1560

BODY ASS'Y

SN: 10001-29999

1шт.

21

0

BODY

SN: 10001-29999

1шт.

22

0

SPOOL

SN: 10001-29999

1шт.

23

418-879-1850

PIN,SPRING

SN: 10001-29999

1шт.

24

418-878-1590

SEAT,SPRING

SN: 10001-29999

2шт.

25

418-879-1780

SPRING

SN: 10001-29999

2шт.

26

418-879-1810

SOLENOID ASS'Y

SN: 10001-29999

1шт.

27

418-878-1610

PLUG

SN: 10001-29999

1шт.

28

07000-12015

O-RING

SN: 10001-29999

2шт.

29

07000-11009

O-RING

SN: 10001-29999

4шт.

30

01252-30545

BOLT

SN: 10001-29999

4шт.

Выбрано товаров: 33