Запчасти Komatsu WA200-1 ГИДРОЛИНИЯ (/) (ДЛЯ S.P.A.P.)(№-9999) СПЕЦ. APPLICATION ЧАСТИ

Схема запчастей Komatsu WA200-1 - ГИДРОЛИНИЯ (/) (ДЛЯ S.P.A.P.)(№-9999) СПЕЦ. APPLICATION ЧАСТИ
FIT
1:1
100%

Артикул

Название

Примечание

Количество

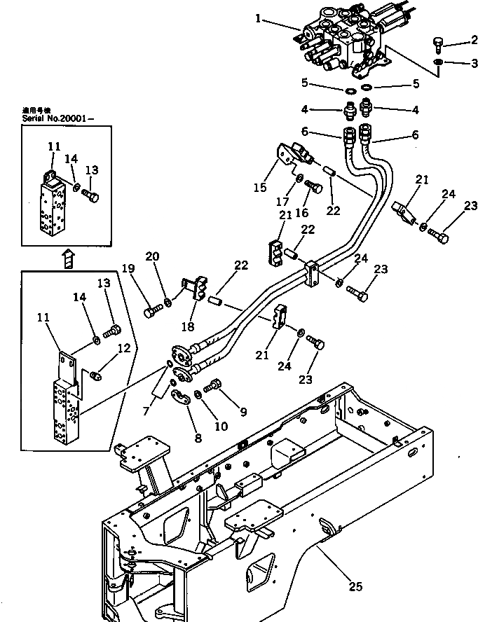
1

700-83-27003

CONTROL VALVE ASS'Y,3-SPOOL

SN: .-29999

1шт.

|1

700-83-27001

CONTROL VALVE ASS'Y,3-SPOOL

SN: 10001-.

1шт.

2

01010-31230

BOLT

SN: 10001-29999

4шт.

3

01643-31232

WASHER

SN: 10001-29999

4шт.

4

418-62-13550

UNION

SN: 10001-29999

2шт.

5

07002-12434

O-RING

SN: 10001-29999

2шт.

6

418-877-1390

HOSE

SN: 10001-29999

2шт.

7

07000-13025

O-RING

SN: 10001-29999

2шт.

8

07371-30638

FLANGE,SPLIT

SN: 10001-29999

4шт.

9

01010-50830

BOLT

SN: 10001-29999

8шт.

10

01643-50823

WASHER

SN: 10001-29999

8шт.

11

418-878-1111

BLOCK

SN: 20001-29999

1шт.

|11

418-878-1110

BLOCK

SN: 10001-19999

1шт.

12

07042-20108

PLUG

SN: 10001-19999

2шт.

13

01010-51230

BOLT

SN: 20001-29999

2шт.

|13

01010-51235

BOLT

SN: 10001-19999

2шт.

14

01643-31232

WASHER

SN: 10001-29999

2шт.

15

418-877-1380

PLATE

SN: 10001-29999

1шт.

16

01010-51225

BOLT

SN: 10001-29999

2шт.

17

01643-31232

WASHER

SN: 10001-29999

2шт.

18

418-877-1110

BRACKET

SN: 10001-29999

1шт.

19

01010-51230

BOLT

SN: 10001-29999

2шт.

20

01643-31232

WASHER

SN: 10001-29999

2шт.

21

418-877-1140

CLAMP

SN: 10001-29999

4шт.

22

418-877-1130

SPACER

SN: 10001-29999

6шт.

23

01010-51090

BOLT

SN: 10001-29999

6шт.

24

01643-31032

WASHER

SN: 10001-29999

6шт.

25

418-878-1351

FRAME,REAR (MODIFIED PART)

SN: 20001-29999

1шт.

|25

418-878-1350

FRAME,REAR (MODIFIED PART)

SN: 10001-19999

1шт.

Выбрано товаров: 29