Запчасти Komatsu WA200-1 ГИДРОЛИНИЯ (/) (ДЛЯ S.P.A.P.)(№-9999) СПЕЦ. APPLICATION ЧАСТИ

Схема запчастей Komatsu WA200-1 - ГИДРОЛИНИЯ (/) (ДЛЯ S.P.A.P.)(№-9999) СПЕЦ. APPLICATION ЧАСТИ
FIT
1:1
100%

Артикул

Название

Примечание

Количество

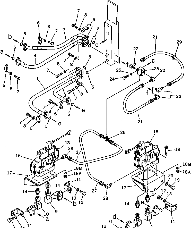
1

07125-00609

HOSE

SN: 10001-29999

1шт.

2

418-878-1120

HOSE

SN: 10001-29999

1шт.

3

418-878-1131

HOSE

SN: 10001-29999

1шт.

4

07124-00610

HOSE

SN: 10001-29999

1шт.

5

07000-13025

O-RING

SN: 10001-29999

8шт.

6

07371-30638

FLANGE,SPLIT

SN: 10001-29999

16шт.

7

01010-50830

BOLT

SN: 10001-29999

32шт.

8

01643-50823

WASHER

SN: 10001-29999

32шт.

9

418-878-1160

TUBE

SN: 10001-29999

2шт.

10

418-878-1150

TUBE

SN: 10001-29999

2шт.

11

418-878-1190

PLATE

SN: 10001-29999

4шт.

12

01010-51220

BOLT

SN: 10001-29999

8шт.

13

01643-31232

WASHER

SN: 10001-29999

8шт.

14

202-62-41270

NIPPLE

SN: 10001-29999

4шт.

15

418-878-1431

VALVE ASS'Y,(FOR ANGLE)

SN: .-29999

1шт.

|15

0

VALVE ASS'Y,(FOR ANGLE)

SN: 10001-.

1шт.

16

418-878-1440

VALVE ASS'Y,(FOR SIDE SHIFT)

SN: 10001-29999

1шт.

17

418-878-1140

BRACKET

SN: 10001-29999

2шт.

18

01252-40835

BOLT

SN: 10001-29999

8шт.

18A

426-09-11140

NUT

SN: 10001-29999

8шт.

18B

01643-30823

WASHER

SN: 10001-29999

8шт.

19

01010-51235

BOLT

SN: 10001-29999

6шт.

20

01643-31232

WASHER

SN: 10001-29999

6шт.

21

07123-00205

HOSE

SN: 10001-29999

2шт.

22

22S-62-14220

ELBOW

SN: 10001-29999

4шт.

23

262-60-17170

VALVE,CHECK

SN: 10001-29999

1шт.

24

01010-50845

BOLT

SN: 10001-29999

2шт.

25

01643-30823

WASHER

SN: 10001-29999

2шт.

26

418-878-1470

TEE

SN: 10001-29999

1шт.

27

07123-00210

HOSE

SN: 10001-29999

2шт.

28

22S-62-14220

ELBOW

SN: 10001-29999

2шт.

29

08034-00536

BAND

SN: 10001-29999

1шт.

Выбрано товаров: 32