Запчасти Komatsu WA200-1 ПРОТИВОВЕС AND КАПОТ (ТУННЕЛЬН. СПЕЦ-Я.)(№-) СПЕЦ. APPLICATION ЧАСТИ

Схема запчастей Komatsu WA200-1 - ПРОТИВОВЕС AND КАПОТ (ТУННЕЛЬН. СПЕЦ-Я.)(№-) СПЕЦ. APPLICATION ЧАСТИ
FIT
1:1
100%

Артикул

Название

Примечание

Количество

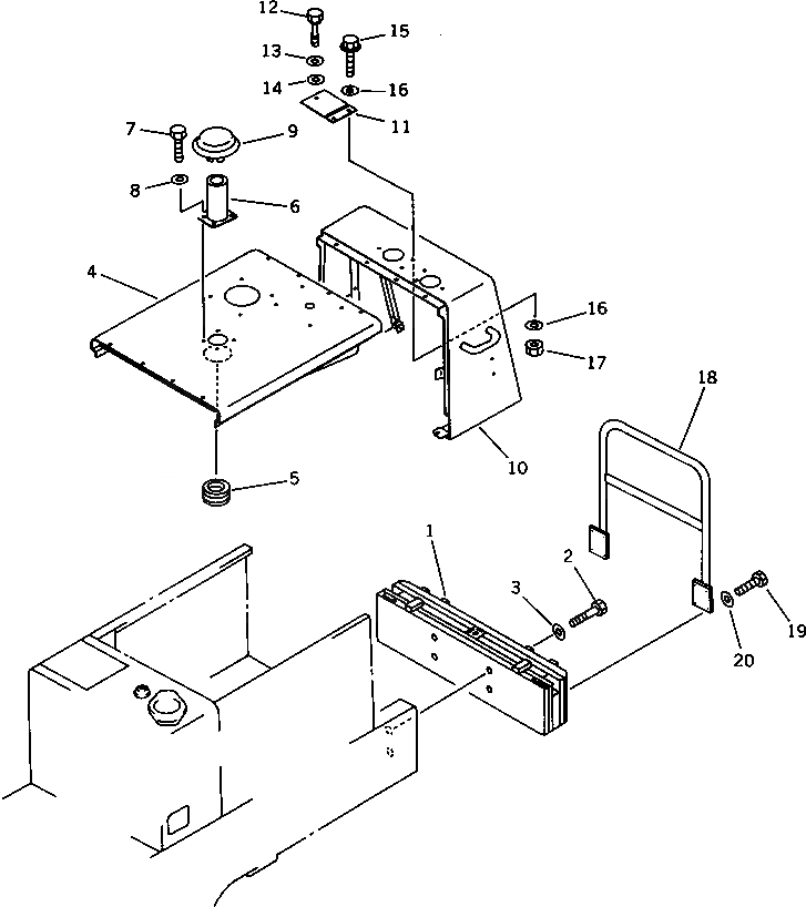
1

418-Z94-1180

WEIGHT,COUNTER

SN: 30001-UP

1шт.

2

419-09-11130

BOLT

SN: 20001-UP

4шт.

3

419-09-11411

WASHER

SN: 20001-UP

4шт.

4

418-Z94-1130

HOOD

SN: 20001-UP

1шт.

5

418-54-11420

BOOT

SN: 20001-UP

1шт.

6

418-Z04-1120

BRACKET

SN: 20001-UP

1шт.

7

01010-51225

BOLT

SN: 20001-UP

4шт.

8

01643-31232

WASHER

SN: 20001-UP

4шт.

9

600-181-3850

CAP

SN: 20001-UP

1шт.

10

418-Z94-1140

GUARD

SN: 20001-UP

1шт.

11

419-U82-1470

COVER

SN: 30001-UP

1шт.

12

425-54-12960

SCREW

SN: 30001-UP

1шт.

13

01642-20608

WASHER

SN: 30001-UP

1шт.

14

01643-30623

WASHER

SN: 30001-UP

1шт.

15

01435-00616

BOLT

SN: 30001-UP

2шт.

16

01643-30623

WASHER

SN: 30001-UP

4шт.

17

01580-10605

NUT

SN: 30001-UP

2шт.

18

418-Z94-1170

GUARD

SN: 30001-UP

1шт.

19

01010-51640

BOLT

SN: 30001-UP

8шт.

20

01643-31645

WASHER

SN: 30001-UP

8шт.

Выбрано товаров: 20