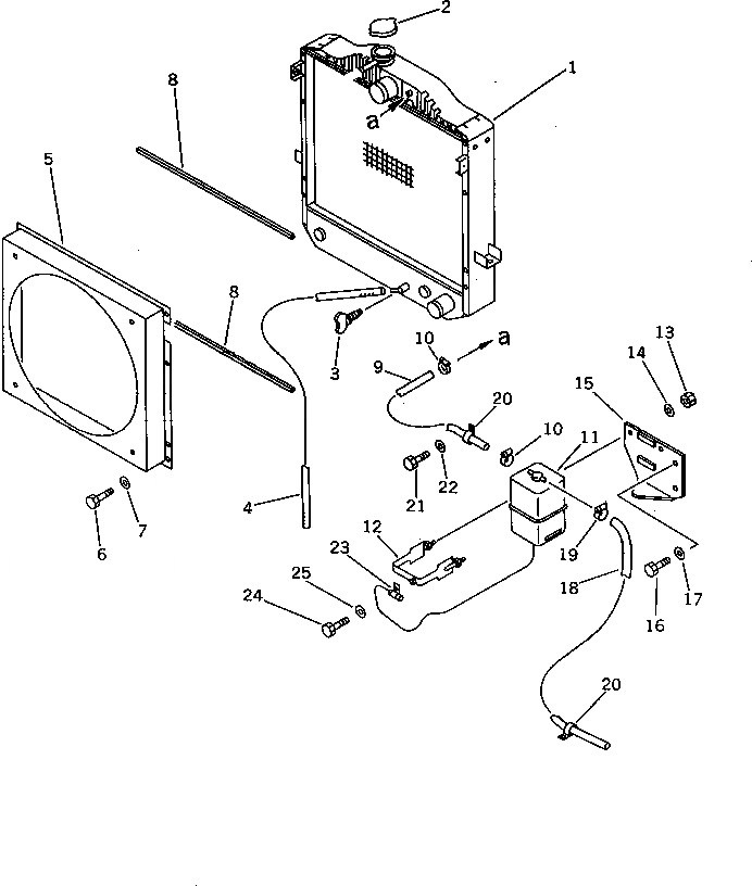
Запчасти Komatsu WA200-1 РАДИАТОР(№-) КОМПОНЕНТЫ ДВИГАТЕЛЯ И ЭЛЕКТРИКА

Схема запчастей Komatsu WA200-1 - РАДИАТОР(№-) КОМПОНЕНТЫ ДВИГАТЕЛЯ И ЭЛЕКТРИКА
FIT
1:1
100%

Артикул

Название

Примечание

Количество

|1

418-03-11400

RADIATOR ASS'Y

SN: 20001-UP

1шт.

1

418-03-11410

CORE ASS'Y

SN: 20001-UP

1шт.

2

416-03-11170

CAP

SN: 20001-UP

1шт.

3

415-03-11150

COCK

SN: 20001-UP

1шт.

|3

415-03-11160

O-RING

SN: 20001-UP

1шт.

4

418-03-11440

HOSE

SN: 20001-UP

1шт.

5

418-03-11420

SHROUD

SN: 20001-UP

1шт.

6

01010-50820

BOLT

SN: 20001-UP

8шт.

7

01643-30823

WASHER

SN: 20001-UP

8шт.

8

418-03-11430

PACKING

SN: 20001-UP

2шт.

9

418-03-11470

HOSE

SN: 20001-UP

1шт.

10

206-03-43340

CLIP

SN: 20001-UP

2шт.

11

205-03-71242

TANK,SUB

SN: 20001-UP

1шт.

|11

205-03-71531

CAP

SN: 20001-UP

1шт.

|11

205-03-71540

PACKING

SN: 20001-UP

1шт.

12

205-03-71260

BAND

SN: 20001-UP

1шт.

13

01584-00806

NUT

SN: 30001-UP

2шт.

|13

0

NUT

SN: 20001-29999

2шт.

14

01643-30823

WASHER

SN: 20001-29999

2шт.

15

418-03-11450

PLATE

SN: 20001-UP

1шт.

16

01435-01020

BOLT

SN: 30001-UP

2шт.

|16

0

BOLT

SN: 20001-29999

2шт.

17

01643-31032

WASHER

SN: 20001-29999

2шт.

18

418-03-11460

HOSE

SN: 20001-UP

1шт.

19

07280-01210

CLAMP

SN: 20001-UP

1шт.

20

08036-01214

CLIP

SN: 20001-UP

4шт.

21

01010-51016

BOLT

SN: 20001-UP

3шт.

22

01643-31032

WASHER

SN: 20001-UP

3шт.

23

08036-01814

CLIP

SN: 20001-UP

1шт.

24

01010-50816

BOLT

SN: 20001-UP

1шт.

25

01643-30823

WASHER

SN: 20001-UP

1шт.

Выбрано товаров: 0