Запчасти Komatsu WA200-1 КЛАПАН УПРАВЛЕНИЯ ТРАНСМИССИЕЙ (/)(№-) ТРАНСМИССИЯ

Схема запчастей Komatsu WA200-1 - КЛАПАН УПРАВЛЕНИЯ ТРАНСМИССИЕЙ (/)(№-) ТРАНСМИССИЯ
FIT
1:1
100%

Артикул

Название

Примечание

Количество

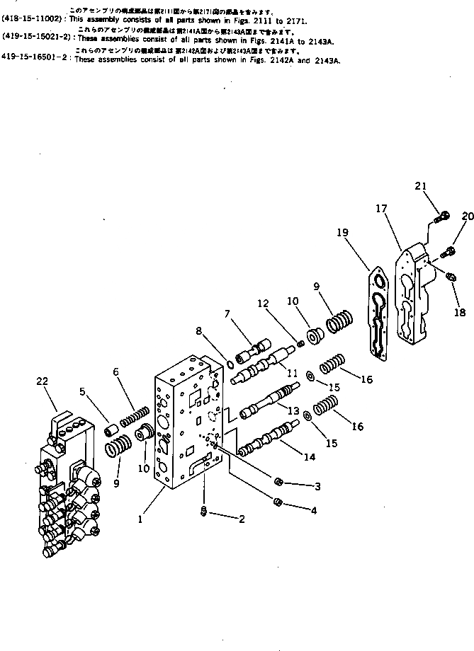
|1

418-15-11002

TRANSMISSION ASS'Y

SN: 20001-UP

1шт.

|1

419-15-15022

CONTROL VALVE ASS'Y

SN: 30301-UP

1шт.

|1

419-15-15021

CONTROL VALVE ASS'Y

SN: 20001-30300

1шт.

|1

419-15-16503

VALVE ASS'Y,LOWER

SN: (72570)-UP

1шт.

|1

419-15-16502

VALVE ASS'Y,LOWER

SN: 30301-(72569)

1шт.

|1

0

VALVE ASS'Y,LOWER

SN: 20001-30300

1шт.

1

419-15-16521

BODY

SN: 30301-UP

1шт.

|1

419-15-16520

BODY

SN: 20001-30300

1шт.

2

07042-30108

PLUG

SN: 20001-UP

1шт.

3

415-15-15430

PLUG

SN: 20001-UP

1шт.

4

415-15-15640

PLUG

SN: 20001-UP

1шт.

5

419-15-16640

RETAINER

SN: 20001-UP

1шт.

6

419-15-16610

SPRING

SN: 20001-UP

1шт.

7

419-15-16560

VALVE,SELECT

SN: 20001-UP

1шт.

8

419-15-16650

SHIM¤ 1.0MM

SN: 20001-UP

5шт.

9

417-15-17280

SPRING

SN: 20001-UP

2шт.

10

417-15-17191

SLEEVE

SN: (72570)-UP

2шт.

|10

0

SLEEVE

SN: 20001-(72569)

2шт.

11

419-15-16570

VALVE

SN: 20001-UP

1шт.

12

02720-10104

PLUG

SN: 20001-UP

1шт.

13

419-15-16580

VALVE

SN: 20001-UP

1шт.

14

419-15-16590

VALVE

SN: 20001-UP

1шт.

15

419-15-16631

SPACER

SN: 20001-UP

2шт.

|15

0

SPACER

SN: (20001-20186)

2шт.

16

419-15-16620

SPRING

SN: 20001-UP

2шт.

17

419-15-16530

COVER

SN: 20001-UP

1шт.

18

07042-30108

PLUG

SN: 20001-UP

1шт.

19

419-15-16541

GASKET (K2)

SN: (72570)-UP

1шт.

|19

0

GASKET (K2)

SN: 20001-(72569)

1шт.

20

01010-81030

BOLT

SN: 20001-UP

2шт.

21

01010-81055

BOLT

SN: 20001-UP

7шт.

22

419-15-16702

SOLENOID VALVE ASS'Y

SN: (72570)-UP

1шт.

|22

419-15-16701

SOLENOID VALVE A.

SN: 20001-(72569)

1шт.

Выбрано товаров: 33