Запчасти Komatsu WA200-1 КЛАПАН УПРАВЛЕНИЯ ТРАНСМИССИЕЙ (/)(№-) ТРАНСМИССИЯ

Схема запчастей Komatsu WA200-1 - КЛАПАН УПРАВЛЕНИЯ ТРАНСМИССИЕЙ (/)(№-) ТРАНСМИССИЯ
FIT
1:1
100%

Артикул

Название

Примечание

Количество

|1

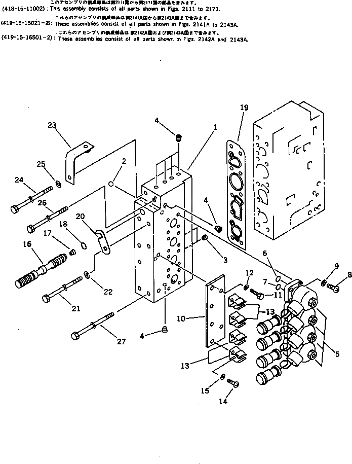
418-15-11002

TRANSMISSION ASS'Y

SN: 20001-UP

1шт.

|1

419-15-15022

CONTROL VALVE ASS'Y

SN: 30301-UP

1шт.

|1

419-15-15021

CONTROL VALVE ASS'Y

SN: 20001-30300

1шт.

|1

419-15-16503

VALVE ASS'Y,LOWER

SN: (72570)-UP

1шт.

|1

419-15-16502

VALVE ASS'Y,LOWER

SN: 30301-(72569)

1шт.

|1

419-15-16501

VALVE ASS'Y,LOWER

SN: 20001-30300

1шт.

|1

419-15-16702

SOLENOID VALVE ASS'Y

SN: (72570)-UP

1шт.

|1

419-15-16701

SOLENOID VALVE A.

SN: 20001-(72569)

1шт.

|1

419-15-16711

BODY ASS'Y

SN: 20001-UP

1шт.

1

0

BODY

SN: 20178-UP

1шт.

|1

0

BODY

SN: 20001-20177

1шт.

2

04260-00635

BALL

SN: 20001-UP

4шт.

3

419-15-15640

PLUG

SN: 20001-UP

2шт.

4

07043-70108

PLUG

SN: 20001-UP

6шт.

5

23S-15-47221

VALVE,SOLENOID

SN: (72570)-UP

4шт.

|5

419-15-16910

VALVE,SOLENOID

SN: 20001-(72569)

4шт.

6

419-15-16840

O-RING

SN: 20001-UP

1шт.

7

419-15-16830

O-RING

SN: 20001-UP

1шт.

8

01220-40412

SCREW

SN: 20001-UP

16шт.

9

01601-20410

WASHER,SPRING

SN: 20001-UP

16шт.

10

419-15-16920

PLATE

SN: 20001-UP

1шт.

11

01010-30820

BOLT

SN: 20001-UP

2шт.

12

01602-00825

WASHER,SPRING

SN: 20001-UP

2шт.

13

08052-01711

CLIP

SN: 20001-UP

4шт.

14

01220-40608

SCREW

SN: 20001-UP

4шт.

15

01641-20608

WASHER

SN: 20001-UP

4шт.

16

419-15-16751

VALVE,MANUAL

SN: 20001-UP

1шт.

17

415-15-15470

PLUG

SN: 20001-UP

1шт.

18

07000-02010

O-RING (K2)

SN: 20001-UP

1шт.

19

419-15-16551

GASKET (K2)

SN: 30301-UP

1шт.

|19

0

GASKET (K2)

SN: 20001-30300

1шт.

20

419-15-16670

PLATE,LOCK

SN: 20001-UP

1шт.

21

01011-31030

BOLT

SN: 20001-UP

1шт.

22

01643-31032

WASHER,SPRING

SN: 20001-UP

1шт.

23

419-06-12840

PLATE

SN: 20001-UP

1шт.

24

01011-31010

BOLT

SN: 20001-UP

1шт.

25

01643-31032

WASHER

SN: 20001-UP

1шт.

26

01011-31005

BOLT

SN: 20001-UP

1шт.

27

01011-31025

BOLT

SN: 20001-UP

6шт.

Выбрано товаров: 39