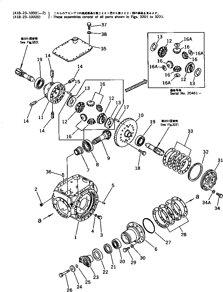
Запчасти Komatsu WA200-1 ЗАДНИЙ ДИФФЕРЕНЦИАЛ ВЕДУЩ. ВАЛ¤ ДИФФЕРЕНЦ. И КОЛЕСА

Схема запчастей Komatsu WA200-1 - ЗАДНИЙ ДИФФЕРЕНЦИАЛ ВЕДУЩ. ВАЛ¤ ДИФФЕРЕНЦ. И КОЛЕСА
FIT
1:1
100%

Артикул

Название

Примечание

Количество

|1

418-23-10021

AXLE ASS'Y

SN: 30001-UP

1шт.

|1

418-23-10020

AXLE ASS'Y

SN: 20461-29999

1шт.

|1

0

AXLE ASS'Y

SN: 20001-20460

1шт.

|1

418-23-10001

AXLE ASS'Y

SN: 10001-19999

1шт.

|1

418-23-11050

DIFFERENTIAL ASS'Y,REAR

SN: 20461-UP

1шт.

|1

418-23-11022

DIFFERENTIAL ASS'Y,REAR

SN: 20001-20460

1шт.

|1

418-23-11021

DIFFERENTIAL ASS'Y,REAR

SN: 10001-19999

1шт.

1

418-23-13111

HOUSING

SN: 10001-UP

1шт.

2

07043-50211

PLUG

SN: 10001-UP

2шт.

3

07040-11209

PLUG

SN: 10001-UP

2шт.

4

07002-01223

O-RING

SN: 10001-UP

2шт.

5

04020-01228

PIN,DOWEL

SN: 10001-UP

4шт.

6

418-23-11131

CAGE

SN: 10001-UP

1шт.

7

418-22-11861

SPACER

SN: 10001-UP

1шт.

8

418-22-11810

BEARING

SN: 10001-UP

1шт.

|9

418-22-11202

PINION ASS'Y

SN: 20461-UP

1шт.

|9

418-22-11201

PINION ASS'Y

SN: 20001-20460

1шт.

|9

0

PINION ASS'Y

SN: 10001-19999

1шт.

|$$19

(418-22-11201{418-22-11512)}

-1шт.

9

0

PINION,GEAR

SN: 10001-UP

1шт.

10

0

GEAR

SN: 20461-UP

1шт.

|10

0

GEAR

SN: 20001-20460

1шт.

|10

0

GEAR

SN: 10001-19999

1шт.

11

418-22-11513

CARRIER

SN: 20461-UP

1шт.

|11

418-22-11512

CARRIER

SN: 20001-20460

1шт.

|11

0

CARRIER

SN: 10001-19999

1шт.

|$$27

(418-22-11512{418-22-11201)}

-1шт.

12

418-22-11431

GEAR

SN: 10001-UP

2шт.

13

418-22-11531

WASHER

SN: 20461-UP

2шт.

|13

418-22-11530

WASHER

SN: 10001-20460

2шт.

14

418-22-11412

SHAFT

SN: 20461-UP

4шт.

|14

418-22-11411

SHAFT

SN: 10001-20460

4шт.

15

418-22-11440

PIN

SN: 10001-UP

4шт.

16

419-22-11420

PINION

SN: 10001-UP

4шт.

16A

418-22-11550

WASHER

SN: 20461-UP

4шт.

17

04020-01638

PIN,DOWEL

SN: 10001-19999

2шт.

18

01010-61645

BOLT

SN: 10001-UP

16шт.

19

417-22-11850

BEARING

SN: 10001-UP

2шт.

20

418-22-11820

BEARING

SN: 10001-UP

1шт.

21

07012-00075

SEAL

SN: 10001-UP

1шт.

22

418-22-11310

PROTECTOR

SN: 10001-UP

1шт.

23

417-22-11250

COUPLING

SN: 20001-UP

1шт.

|23

418-22-11230

COUPLING

SN: 10001-19999

1шт.

24

417-15-13770

HOLDER

SN: 10001-UP

1шт.

25

07000-03040

O-RING

SN: 10001-UP

1шт.

26

01011-61615

BOLT

SN: 10001-UP

1шт.

27

07000-05160

O-RING

SN: 10001-UP

1шт.

28

417-22-11360

SHIM¤ 0.05MM

SN: 10001-UP

2шт.

|28

417-22-11370

SHIM¤ 0.2MM

SN: 10001-UP

2шт.

|28

417-22-11380

SHIM¤ 0.3MM

SN: 10001-UP

2шт.

|28

417-22-11390

SHIM¤ 0.8MM

SN: 10001-UP

1шт.

29

01010-61235

BOLT

SN: 10001-UP

13шт.

30

01643-31232

WASHER

SN: 10001-UP

13шт.

31

418-22-11160

CARRIER

SN: 20461-UP

2шт.

|31

0

CARRIER

SN: 10001-20460

2шт.

|$$56

(418-22-11160{01643-51232(7))}

-1шт.

32

417-33-11430

RING

SN: 10001-UP

2шт.

33

417-22-11461

SHIM¤ 0.07MM

SN: 10001-UP

2шт.

|33

417-22-11471

SHIM¤ 0.2MM

SN: 10001-UP

2шт.

|33

417-22-11481

SHIM¤ 0.3MM

SN: 10001-UP

2шт.

|33

417-22-11491

SHIM¤ 0.8MM

SN: 10001-UP

2шт.

34

01010-61230

BOLT

SN: 10001-UP

14шт.

34A

01643-51232

WASHER

SN: 20461-UP

14шт.

35

418-22-13120

COVER

SN: 10001-UP

1шт.

36

04020-01228

PIN,DOWEL

SN: 10001-UP

2шт.

37

01010-61230

BOLT

SN: 10001-UP

16шт.

38

01643-31232

WASHER

SN: 10001-UP

16шт.

Выбрано товаров: 67