Запчасти Komatsu WA200-3-X ОСНОВН. КОНСТРУКЦИЯ(№-) РАМА И ЧАСТИ КОРПУСА

Схема запчастей Komatsu WA200-3-X - ОСНОВН. КОНСТРУКЦИЯ(№-) РАМА И ЧАСТИ КОРПУСА
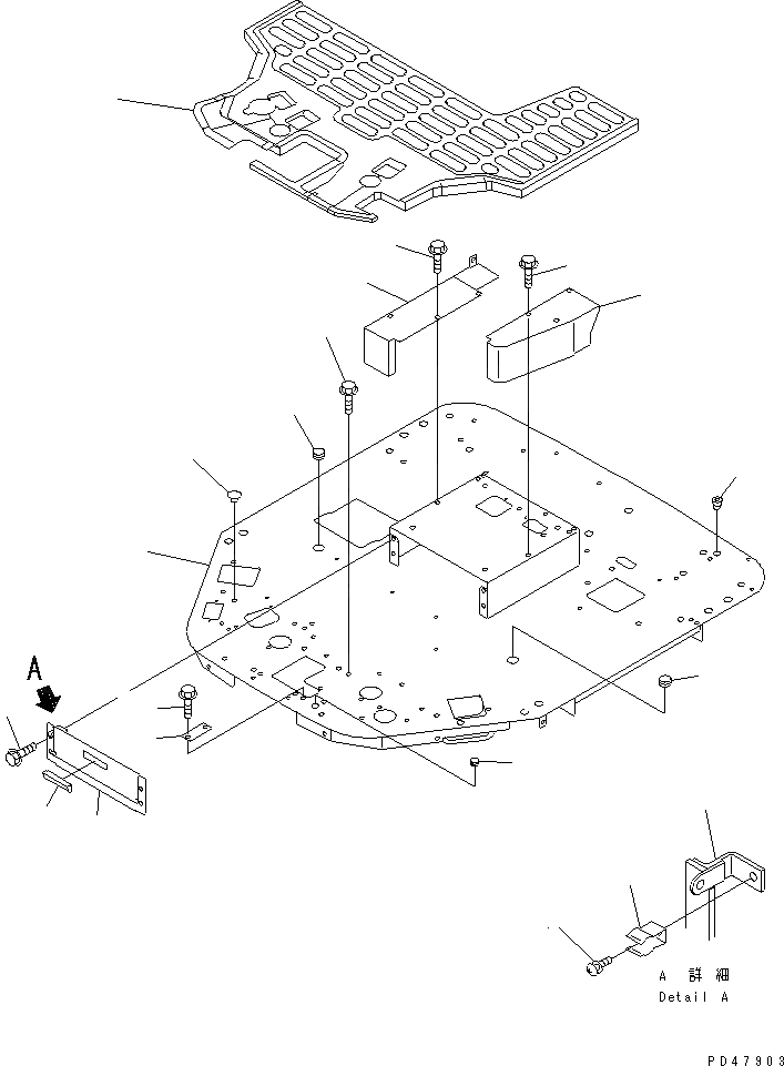
1
2
2
3
4
5
6
7
8
9
10
11
12
13
13
14
15
16
17
18
FIT
1:1
100%

Артикул

Название

Примечание

Количество

1

417-54-22110

FRAME,FLOOR

SN: 60001-UP

1шт.

2

421-54-22121

COVER

SN: 60001-UP

1шт.

3

08052-01311

CLIP

SN: 60001-UP

1шт.

4

01023-10612

SCREW

SN: 60001-UP

1шт.

5

421-54-22750

HANDLE

SN: 60001-UP

1шт.

6

01435-00616

BOLT

SN: 60001-UP

4шт.

7

417-54-22280

COVER

SN: 60001-UP

1шт.

8

01435-00616

BOLT

SN: 60001-UP

4шт.

9

417-54-22290

COVER

SN: 60001-UP

1шт.

10

01435-00612

BOLT

SN: 60001-UP

3шт.

11

417-54-22470

PLATE

SN: 60001-UP

1шт.

12

01435-00616

BOLT

SN: 60001-UP

2шт.

13

09415-02520

CAP

SN: 60001-UP

2шт.

14

421-54-21850

PLUG

SN: 60001-UP

8шт.

15

09415-01610

CAP

SN: 60001-UP

1шт.

16

20Y-54-14540

PLUG

SN: 60001-UP

2шт.

17

01435-01220

BOLT

SN: 60001-UP

3шт.

18

417-54-22410

MAT,FLOOR (OP)

SN: 60001-UP

1шт.

Выбрано товаров: 18