Запчасти Komatsu WA200-3-X ВИЛЫ(№-) КАТАЛОГИ ЗЧ

Схема запчастей Komatsu WA200-3-X - ВИЛЫ(№-) КАТАЛОГИ ЗЧ
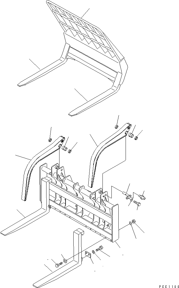
1
2
2
3
4
4
5
6
7
8
9
10
11
12
12
13
13
14
14
14
14
15
16
17
18
FIT
1:1
100%

Артикул

Название

Примечание

Количество

|$$1

DUMPING FORK

-1шт.

1

418-883-1101

FORK ASS'Y,DUMPING

SN: 60001-UP

1шт.

2

416-883-1120

FORK (WELDED)

SN: 60001-UP

2шт.

|$$4

LUMBER FORK

-1шт.

3

418-884-1111

CARRIER

SN: 60001-UP

1шт.

4

418-884-1120

FORK

SN: 60001-UP

2шт.

5

418-884-1130

PLATE

SN: 60001-UP

2шт.

6

01010-62045

BOLT

SN: 60001-UP

4шт.

7

01643-32060

WASHER

SN: 60001-UP

4шт.

8

417-884-1140

PLATE

SN: 60001-UP

4шт.

9

01010-61255

BOLT

SN: 60001-UP

4шт.

10

01580-01210

NUT

SN: 60001-UP

4шт.

11

01643-31232

WASHER

SN: 60001-UP

4шт.

|$$14

LUMBER FORK{(FOR LOG LUMBER FORK GRAPPLE)}

-1шт.

|12

418-881-0010

ARM ASS'Y

SN: 60001-UP

1шт.

12

0

ARM

SN: 60001-UP

2шт.

13

416-70-11810

BUSHING

SN: 60001-UP

4шт.

14

416-09-11140

SEAL,DUST

SN: 60001-UP

4шт.

15

417-881-1220

PIN

SN: 60001-UP

2шт.

16

07020-00000

FITTING,GREASE

SN: 60001-UP

2шт.

17

01010-61220

BOLT

SN: 60001-UP

2шт.

18

175-54-34170

WASHER

SN: 60001-UP

2шт.

Выбрано товаров: 22