Запчасти Komatsu WA200-6 КАПОТ, ПРЕФИЛЬТР И СМАЗ. GUN КОРПУС (№78-) КАПОТ, С ПРЕФИЛЬТР

Схема запчастей Komatsu WA200-6 - КАПОТ, ПРЕФИЛЬТР И СМАЗ. GUN КОРПУС (№78-) КАПОТ, С ПРЕФИЛЬТР
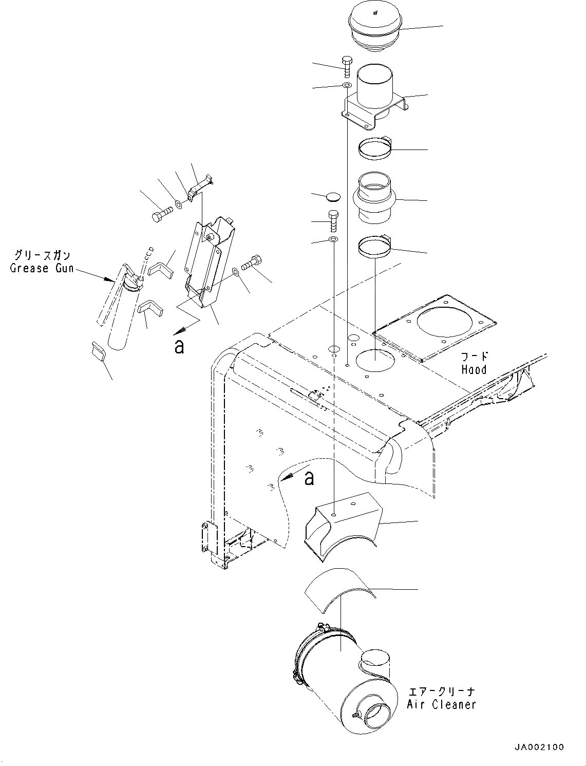
10
13
14
15
12
16
17
9
8
9
5
6
7
4
2
3
1
11
20
19
18
12
FIT
1:1
100%

Артикул

Название

Примечание

Количество

1

418-54-41410

Bracket

SN: 70048-UP

1шт.

2

01010-81020

Bolt

SN: 70048-UP

4шт.

3

01643-31032

Washer

SN: 70048-UP

4шт.

4

04434-50510

Clip

SN: 70048-UP

1шт.

5

22W-54-11470

Band

SN: 70048-UP

1шт.

6

01010-81020

Bolt

SN: 70048-UP

1шт.

7

01643-31032

Washer

SN: 70048-UP

1шт.

8

418-54-41451

Sheet

SN: 70048-UP

1шт.

9

418-54-41461

Sheet

SN: 70048-UP

2шт.

10

6685-81-7503

Pre-cleaner

SN: 70092-UP

1шт.

10

600-181-2630

Pre-cleaner Assembly

SN: 70048-70091

1шт.

11

416-54-31331

Hose

SN: 70048-UP

1шт.

12

07289-00120

Clamp

SN: 70048-UP

2шт.

13

417-U12-4120

Bracket

SN: 70092-UP

1шт.

13

417-U12-3110

Bracket

SN: 70048-70091

1шт.

14

01010-81020

Bolt

SN: 70048-UP

4шт.

15

01643-31032

Washer

SN: 70048-UP

4шт.

16

417-54-41290

Bracket

SN: 70048-UP

1шт.

17

417-54-41260

Felt

SN: 70048-UP

1шт.

18

01010-81225

Bolt

SN: 70048-UP

2шт.

19

01643-31232

Washer

SN: 70048-UP

2шт.

20

195-54-42981

Cap

SN: 70048-UP

2шт.

Выбрано товаров: 0