Запчасти Komatsu WA200PT-5 НАСОС (/) Y ОСНОВН. КОМПОНЕНТЫ И РЕМКОМПЛЕКТЫ

Схема запчастей Komatsu WA200PT-5 - НАСОС (/) Y ОСНОВН. КОМПОНЕНТЫ И РЕМКОМПЛЕКТЫ
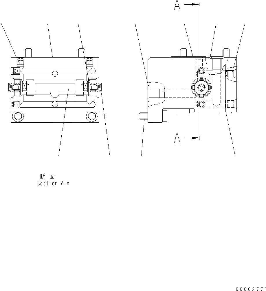
7
1
3
10
9
11
8
2
4
6
5
FIT
1:1
100%

Артикул

Название

Примечание

Количество

|$1

UC4020481906

VALVE HOUSING ASSEMBLY

SN: H60051-UP

1шт.

1

0

HOUSING

SN: H60051-UP

1шт.

2

UC1020481871

CONTROL PISTON

SN: H60051-UP

1шт.

3

UC1020347322

COLLER

SN: H60051-UP

2шт.

4

UC1700713621

SPRING

SN: H60051-UP

2шт.

5

UC1090830283

BOLT

SN: H60051-UP

4шт.

6

UC1090830219

BOLT

SN: H60051-UP

2шт.

7

0

PLUG

SN: H60051-UP

4шт.

8

0

PLUG

SN: H60051-UP

1шт.

9

UC1300082002

O-RING

SN: H60051-UP

1шт.

10

UC1300034003

O-RING

SN: H60051-UP

3шт.

11

UC1300030001

O-RING

SN: H60051-UP

1шт.

Выбрано товаров: 0