Запчасти Komatsu WA200PTL-5 ПОЛ (ОСНОВН. МОНИТОР) (ДЛЯ НАВЕСА) КАБИНА ОПЕРАТОРА И СИСТЕМА УПРАВЛЕНИЯ

Схема запчастей Komatsu WA200PTL-5 - ПОЛ (ОСНОВН. МОНИТОР) (ДЛЯ НАВЕСА) КАБИНА ОПЕРАТОРА И СИСТЕМА УПРАВЛЕНИЯ
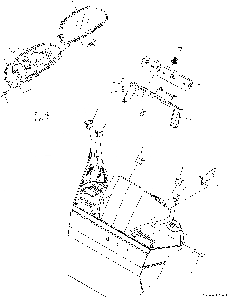
1
1
2
3
4
4
5
6
7
8
9
10
11
12
13
13
14
14
FIT
1:1
100%

Артикул

Название

Примечание

Количество

1

418-06-35115

MONITOR

SN: 68806-UP

1шт.

1

418-06-35114

MONITOR

SN: 65416-68805

1шт.

1

418-06-35113

MONITOR

SN: 65001-65415

1шт.

2

418-06-35140

GLASS

SN: 65001-UP

1шт.

3

418-06-35150

VALVE

SN: 65001-UP

20шт.

4

418-06-35160

SCREW

SN: 65001-UP

14шт.

5

418-06-36320

SWITCH,REAR WORK LAMP

SN: 67061-UP

1шт.

5

418-06-36120

SWITCH,REAR WORK LAMP

SN: 65001-67060

1шт.

6

418-06-36330

SWITCH,HAZARD

SN: 67061-UP

1шт.

6

418-06-36130

SWITCH,HAZARD

SN: 65001-67060

1шт.

7

418-06-36340

SWITCH,MODE, 1

SN: 67061-UP

1шт.

7

418-06-36140

SWITCH,MODE, 1

SN: 65001-67060

1шт.

8

418-06-36350

SWITCH,MODE, 2

SN: 67061-UP

1шт.

8

418-06-36150

SWITCH,MODE, 2

SN: 65001-67060

1шт.

9

418-06-36230

PLUG

SN: 65001-UP

2шт.

10

01023-20616

SCREW

SN: 65001-UP

6шт.

11

418-926-3613

SUPPORT

SN: 65001-UP

1шт.

12

418-926-3652

BRACKET

SN: 65416-UP

1шт.

12

418-926-3651

BRACKET

SN: 65001-65415

1шт.

13

01010-80620

BOLT

SN: 65001-UP

8шт.

14

01643-30623

WASHER

SN: 65001-UP

8шт.

Выбрано товаров: 21