Запчасти Komatsu WA200PTL-5 ГИДРОЦИЛИНДР ПОДЪЕМА РАБОЧЕЕ ОБОРУДОВАНИЕ

Схема запчастей Komatsu WA200PTL-5 - ГИДРОЦИЛИНДР ПОДЪЕМА РАБОЧЕЕ ОБОРУДОВАНИЕ
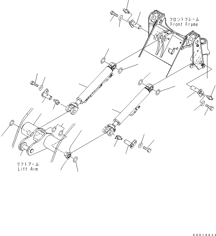
1
2
3
3
4
4
5
5
6
6
6
6
7
7
7
7
8
8
8
8
8
8
8
9
9
FIT
1:1
100%

Артикул

Название

Примечание

Количество

1

707-00-XZ731

CYLINDER ASS'Y,L.H.

SN: 68261-UP

1шт.

1

707-00-XZ730

CYLINDER ASS'Y,L.H.

SN: 65001-68260

1шт.

2

707-00-XZ741

CYLINDER ASS'Y,R.H.

SN: 68261-UP

1шт.

2

707-00-XZ740

CYLINDER ASS'Y,R.H.

SN: 65001-68260

1шт.

3

417-63-32220

PIN

SN: 65001-UP

2шт.

4

07020-00900

FITTING,GREASE

SN: 65001-UP

2шт.

5

417-63-32230

PIN

SN: 65001-UP

2шт.

6

01010-81625

BOLT

SN: 65001-UP

4шт.

7

421-70-11280

WASHER

SN: 65001-UP

4шт.

8

417-70-11340

SHIM, 1.5MM,1.5MM

SN: 65001-UP

8шт.

9

07020-00000

FITTING,GREASE

SN: 65001-UP

2шт.

Выбрано товаров: 11