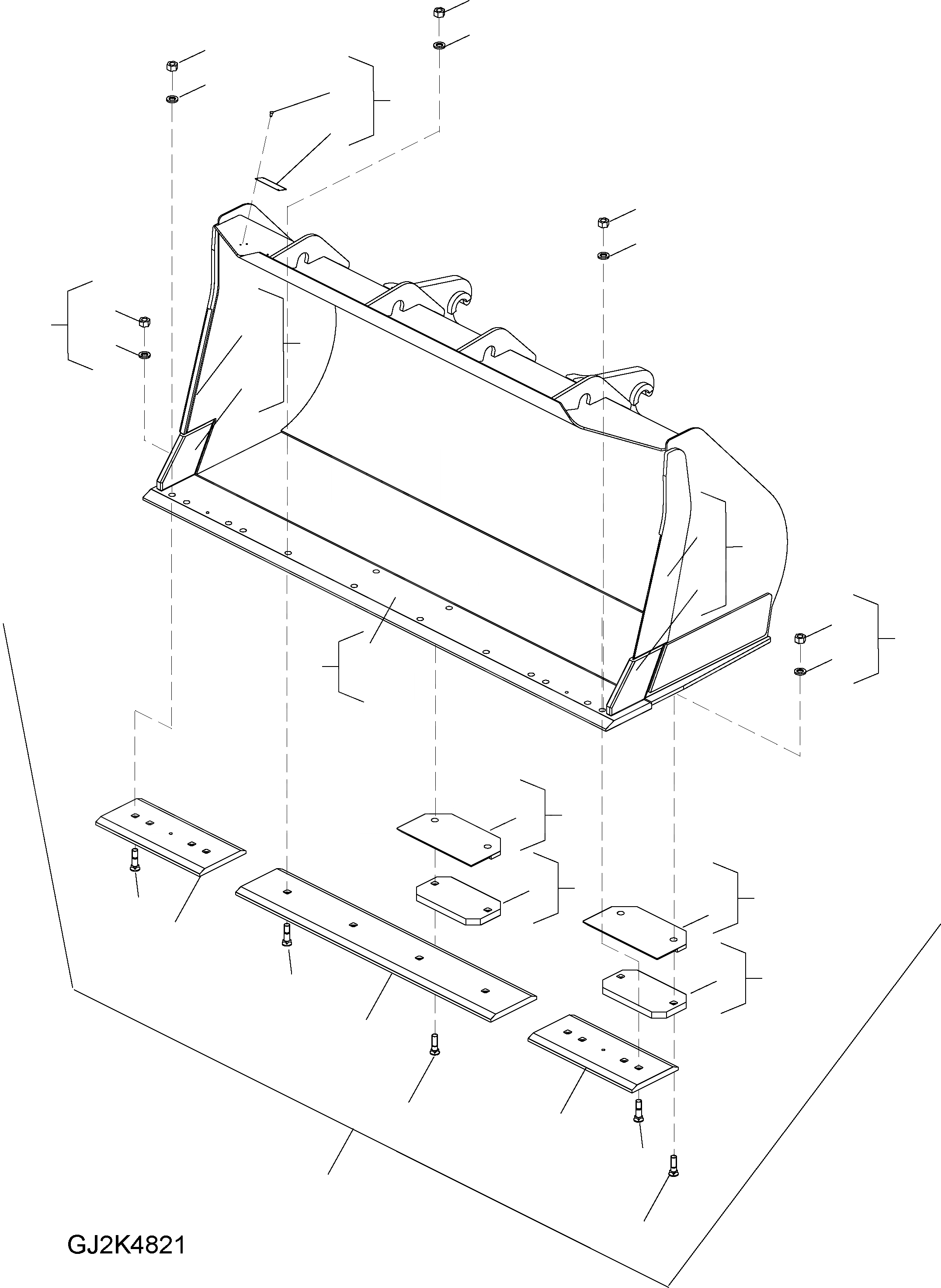
Запчасти Komatsu WA200PZ-6 КОВШ (.CBM) (С BOC) (ТИП QC-A) T РАБОЧЕЕ ОБОРУДОВАНИЕ

Схема запчастей Komatsu WA200PZ-6 - КОВШ (.CBM) (С BOC) (ТИП QC-A) T РАБОЧЕЕ ОБОРУДОВАНИЕ
12
11
12
11
14
2
3
12
11
19
2
10
18
2
9
8
2
7
19
2
18
2
6
2
5
2
4
2
5
17
15
2
4
17
16
13
15
17
1
13
FIT
1:1
100%

Артикул

Название

Примечание

Количество

1

417-73-H2270

BUCKET ASSEMBLY

SN: 70136-70342

1шт.

2

417-73-H2250

BUCKET ASSEMBLY

SN: 70136-70342

1шт.

3

421-70-H2431

PLATE, (LIMITED SUPPLY)

SN: 70136-70342

1шт.

4

418-71-H2A50

PLATE

SN: 70136-70342

2шт.

5

417-73-H2940

PLATE, (WELDED)

SN: 70136-70342

2шт.

6

417-72-H2210

EDGE, (WELDED)

SN: 70136-70342

1шт.

7

417-73-H2970

EDGE, (WELDED)

SN: 70136-70342

1шт.

8

417-73-H2A50

PLATE, (WELDED)

SN: 70136-70342

1шт.

9

417-73-H2970

EDGE, (WELDED)

SN: 70136-70342

1шт.

10

417-73-H2A40

PLATE, (WELDED)

SN: 70136-70342

1шт.

11

01643-32260

WASHER

SN: 70136-70342

4шт.

12

421-70-H2A20

NUT

SN: 70136-70342

4шт.

13

416-71-H2580

BOLT

SN: 70136-70342

4шт.

14

04418-03080

PIN

SN: 70136-70342

4шт.

15

42Y-70-H2N70

EDGE

SN: 70136-70342

2шт.

16

42Y-70-H2N60

EDGE

SN: 70136-70342

1шт.

17

02090-11485

SCREW

SN: 70136-70342

12шт.

18

01643-32260

WASHER

SN: 70136-70342

4шт.

19

02290-11422

NUT

SN: 70136-70342

4шт.

Выбрано товаров: 19