Запчасти Komatsu WA200PZ-6 НАСОС (/) Y ОСНОВН. КОМПОНЕНТЫ И РЕМКОМПЛЕКТЫ

Схема запчастей Komatsu WA200PZ-6 - НАСОС (/) Y ОСНОВН. КОМПОНЕНТЫ И РЕМКОМПЛЕКТЫ
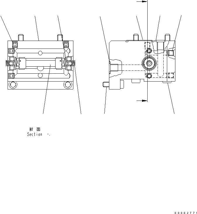
1
2
3
4
5
6
7
8
9
10
11
A
A
A
A
FIT
1:1
100%

Артикул

Название

Примечание

Количество

|$1

PARTS MARKED B8, CANNNOT BE SUPPLIED AS AN INDIVIDUAL PART.IT IS SUPPLIED AS A SET OF OTHER PARTS MARKED B8.

-1шт.

|$2

417-18-31101

PUMP

SN: 70136-70342

1шт.

|$3

UC4020481906

VALVE HOUSING ASSEMBLY

SN: 70136-70342

1шт.

1

UC1020481826

HOUSING B8

SN: 70136-70342

1шт.

2

UC1020481871

CONTROL PISTON

SN: 70136-70342

1шт.

3

UC1020347322

COLLAR

SN: 70136-70342

2шт.

4

UC1700713621

SPRING

SN: 70136-70342

2шт.

5

UC1090830283

BOLT

SN: 70136-70342

4шт.

6

UC1090830219

BOLT

SN: 70136-70342

2шт.

7

UC1026007057

PLUG B8

SN: 70136-70342

4шт.

8

UC1701538797

PLUG B8

SN: 70136-70342

1шт.

9

UC1300082002

O-RING

SN: 70136-70342

1шт.

10

UC1300034003

O-RING

SN: 70136-70342

3шт.

11

UC1300030001

O-RING

SN: 70136-70342

1шт.

Выбрано товаров: 14