Запчасти Komatsu WA200PZ-6 HYDROSTATIC ТРАНСМИССИЯ (HST) НАСОС И МОТОР, HST НАСОС, КОЖУХ КЛАПАН (/) (№788-) HYDROSTATIC ТРАНСМИССИЯ (HST) НАСОС И МОТОР

Схема запчастей Komatsu WA200PZ-6 - HYDROSTATIC ТРАНСМИССИЯ (HST) НАСОС И МОТОР, HST НАСОС, КОЖУХ КЛАПАН (/) (№788-) HYDROSTATIC ТРАНСМИССИЯ (HST) НАСОС И МОТОР
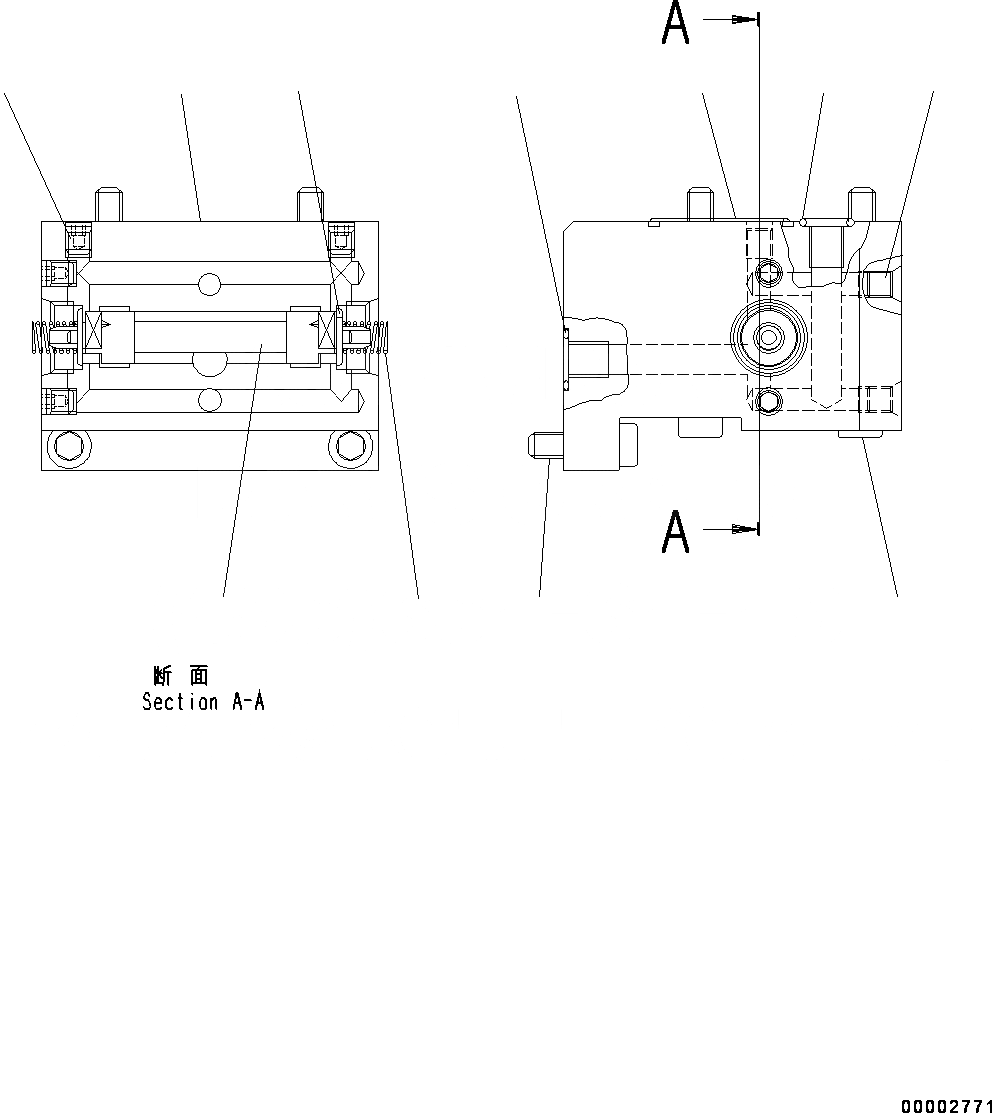
1
3
7
8
9
10
11
2
4
5
6
FIT
1:1
100%

Артикул

Название

Примечание

Количество

|$0

417-18-41101

Pump

SN: 71824-UP

1шт.

|$1

UC4020481906

Valve

SN: 70883-UP

1шт.

1

UC1020481826

Housing, B8

SN: 70883-UP

1шт.

2

UC1020481871

Piston, Control

SN: 70883-UP

1шт.

3

UC1020347322

Collar

SN: 70883-UP

2шт.

4

UC1700713621

Spring

SN: 70883-UP

2шт.

5

UC1090830283

Bolt, Hexagon Socket Head

SN: 70883-UP

4шт.

6

UC1090830219

Bolt, Hexagon Socket Head

SN: 70883-UP

2шт.

7

UC1026007057

Plug, B8

SN: 70883-UP

4шт.

8

UC1701538797

Plug, B8

SN: 70883-UP

1шт.

9

UC1300082002

O-ring

SN: 70883-UP

1шт.

10

UC1300034003

O-ring

SN: 70883-UP

3шт.

11

UC1300030001

O-ring

SN: 70883-UP

1шт.

Выбрано товаров: 13