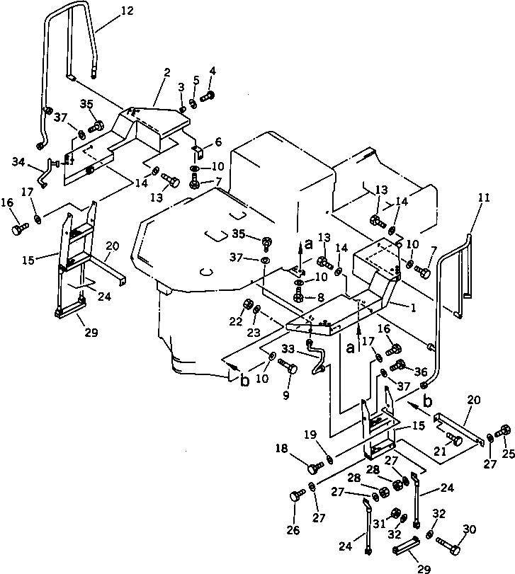
Запчасти Komatsu WA250-1 КРЫЛО И ЛЕСТНИЦА РАМА И ЧАСТИ КОРПУСА

Схема запчастей Komatsu WA250-1 - КРЫЛО И ЛЕСТНИЦА РАМА И ЧАСТИ КОРПУСА
FIT
1:1
100%

Артикул

Название

Примечание

Количество

1

418-54-14123

FENDER,L.H.

SN: 10001-UP

1шт.

2

418-54-14113

FENDER,R.H.

SN: 10001-UP

1шт.

3

418-60-15150

STOPPER

SN: 10001-UP

2шт.

4

01220-40630

SCREW

SN: 10001-UP

2шт.

5

01602-20619

WASHER,SPRING

SN: 10001-UP

2шт.

6

419-54-11750

BRACKET

SN: 10001-UP

2шт.

7

01010-51230

BOLT

SN: 10001-UP

4шт.

8

01010-51225

BOLT

SN: 10001-UP

4шт.

9

01010-51245

BOLT

SN: 10001-UP

2шт.

10

01643-31232

WASHER

SN: 10001-UP

10шт.

11

418-54-12151

HANDRAIL,L.H.

SN: 10001-UP

1шт.

12

418-54-12161

HANDRAIL,R.H.

SN: 10001-UP

1шт.

13

01010-51225

BOLT

SN: 10001-UP

6шт.

14

01643-31232

WASHER

SN: 10001-UP

6шт.

15

418-54-14550

LADDER

SN: 10001-UP

2шт.

16

01010-51230

BOLT

SN: 10001-UP

4шт.

17

01643-31232

WASHER

SN: 10001-UP

4шт.

18

01010-51230

BOLT

SN: 10001-UP

2шт.

19

01643-31232

WASHER

SN: 10001-UP

2шт.

20

418-54-14561

SUPPORT

SN: 10001-UP

2шт.

21

01010-51235

BOLT

SN: 10001-UP

2шт.

22

01580-11210

NUT

SN: 10001-UP

2шт.

23

01643-31232

WASHER

SN: 10001-UP

2шт.

24

423-54-14260

ROPE,WIRE

SN: 10001-UP

4шт.

25

01010-51240

BOLT

SN: 10001-UP

4шт.

26

01010-51230

BOLT

SN: 10001-UP

4шт.

27

01643-31232

WASHER

SN: 10001-UP

16шт.

28

01580-11210

NUT

SN: 10001-UP

8шт.

29

423-54-12770

STEP

SN: 10001-UP

2шт.

30

01010-51265

BOLT

SN: 10001-UP

4шт.

31

426-43-19150

NUT,LOCK

SN: 10001-UP

4шт.

32

01643-31232

WASHER

SN: 10001-UP

8шт.

33

418-54-12171

HANDRAIL,L.H. (WITH CAB)

SN: 10001-UP

1шт.

34

418-54-12181

HANDRAIL,R.H. (WITH CAB)

SN: 10001-UP

1шт.

35

01010-51225

BOLT,(WITH CAB)

SN: 10001-UP

2шт.

36

01010-51230

BOLT,(WITH CAB)

SN: 10001-UP

2шт.

37

01643-31232

WASHER,(WITH CAB)

SN: 10001-UP

4шт.

Выбрано товаров: 37