Запчасти Komatsu WA250-1 БЛОК КОНДИЦИОНЕРА (/) (NIPPON DENSO) РАМА И ЧАСТИ КОРПУСА

Схема запчастей Komatsu WA250-1 - БЛОК КОНДИЦИОНЕРА (/) (NIPPON DENSO) РАМА И ЧАСТИ КОРПУСА
FIT
1:1
100%

Артикул

Название

Примечание

Количество

|$0

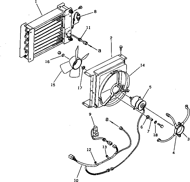
425-963-1120

CONDENSER ASS'Y

SN: 10001-UP

1шт.

1

425-963-2510

CONDENSER ASS'Y

SN: 10001-UP

1шт.

2

425-963-2520

SHROUD

SN: 10001-UP

1шт.

3

425-963-2530

BRACKET

SN: 10001-UP

1шт.

4

425-963-2540

BRACKET

SN: 10001-UP

1шт.

5

425-963-2550

MOTOR ASS'Y

SN: 10001-UP

1шт.

6

425-963-2560

BUSHING

SN: 10001-UP

3шт.

7

425-963-2570

BUSHING

SN: 10001-UP

3шт.

8

425-963-2580

SWITCH

SN: 10001-UP

1шт.

9

425-963-2590

RESISTOR

SN: 10001-UP

1шт.

10

425-963-2610

WIRING

SN: 10001-UP

1шт.

11

425-963-2620

GROMMET

SN: 10001-UP

1шт.

12

425-963-2630

CLAMP

SN: 10001-UP

2шт.

13

425-963-2640

CLAMP

SN: 10001-UP

1шт.

14

425-963-2650

SHROUD

SN: 10001-UP

1шт.

15

425-963-2670

FAN

SN: 10001-UP

1шт.

16

425-963-2680

WASHER

SN: 10001-UP

1шт.

17

425-963-2690

RING

SN: 10001-UP

1шт.

18

425-963-2710

WASHER

SN: 10001-UP

4шт.

19

198-911-4610

TANK,RECEIVER

SN: 10001-UP

1шт.

20

145-Z97-4860

BOLT,FUSE

SN: 10001-UP

1шт.

21

425-963-1150

HOLDER,RECEIVER

SN: 10001-UP

1шт.

Выбрано товаров: 22