Запчасти Komatsu WA250-1 ЗУБЬЯ(TIP ТИП) РАБОЧЕЕ ОБОРУДОВАНИЕ

Схема запчастей Komatsu WA250-1 - ЗУБЬЯ(TIP ТИП) РАБОЧЕЕ ОБОРУДОВАНИЕ
FIT
1:1
100%

Артикул

Название

Примечание

Количество

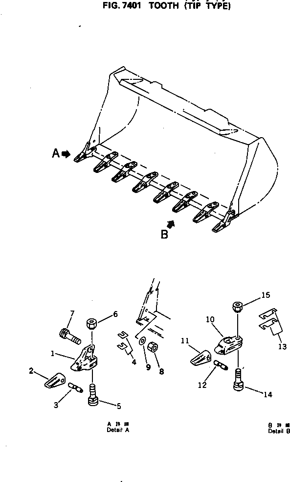
|$$1

CORNER TOOTH

-1шт.

1

419-847-1121

ADAPTER,L.H.

SN: 10001-UP

1шт.

1

419-847-1131

ADAPTER,R.H.

SN: 10001-UP

1шт.

2

202-70-12130

TOOTH

SN: 10001-UP

2шт.

3

09244-02496

PIN

SN: 10001-UP

2шт.

4

419-70-13190

SHIM, 0.5MM

SN: 10001-UP

2шт.

4

419-70-13180

SHIM, 1.0MM

SN: 10001-UP

2шт.

5

09208-12595

BOLT

SN: 10001-UP

2шт.

6

09218-12523

NUT

SN: 10001-UP

2шт.

7

419-70-13150

BOLT

SN: 10001-UP

2шт.

8

02290-11625

NUT

SN: 10001-UP

2шт.

9

01643-32780

WASHER

SN: 10001-UP

2шт.

|$$13

CENTER TOOTH

-1шт.

10

419-847-1111

ADAPTER

SN: 10001-UP

6шт.

11

202-70-12130

TOOTH

SN: 10001-UP

6шт.

12

09244-02496

PIN

SN: 10001-UP

6шт.

13

419-70-13130

SHIM, 0.5MM

SN: 10001-UP

6шт.

13

419-70-13120

SHIM, 1.0MM

SN: 10001-UP

6шт.

14

09208-12595

BOLT

SN: 10001-UP

12шт.

15

09218-12523

NUT

SN: 10001-UP

12шт.

Выбрано товаров: 20