Запчасти Komatsu WA250-1 КОНТРОЛЬ VELVE (ABE СПЕЦ-Я.) СПЕЦ. APPLICATION ЧАСТИ

Схема запчастей Komatsu WA250-1 - КОНТРОЛЬ VELVE (ABE СПЕЦ-Я.) СПЕЦ. APPLICATION ЧАСТИ
FIT
1:1
100%

Артикул

Название

Примечание

Количество

|$0

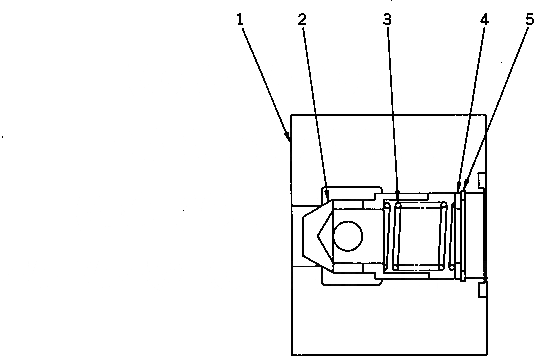
419-875-1400

CHECK VALVE ASS'Y

SN: 10001-UP

1шт.

1

419-875-1420

BODY

SN: 10001-UP

1шт.

2

419-875-1410

POPPET

SN: 10001-UP

1шт.

3

205-60-51310

SPRING

SN: 10001-UP

1шт.

4

205-60-51320

SEAT

SN: 10001-UP

1шт.

5

04065-02812

RING,SNAP

SN: 10001-UP

1шт.

Выбрано товаров: 6