Запчасти Komatsu WA250-1 КРЫЛО И ЛЕСТНИЦА (TBG/ABE СПЕЦ-Я.) СПЕЦ. APPLICATION ЧАСТИ

Схема запчастей Komatsu WA250-1 - КРЫЛО И ЛЕСТНИЦА (TBG/ABE СПЕЦ-Я.) СПЕЦ. APPLICATION ЧАСТИ
FIT
1:1
100%

Артикул

Название

Примечание

Количество

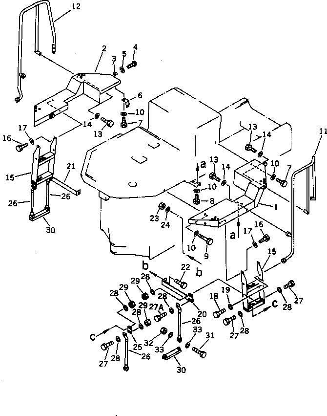
1

418-54-14630

FENDER,L.H.

SN: 10001-UP

1шт.

2

418-54-14640

FENDER,R.H.

SN: 10001-UP

1шт.

3

418-60-15150

STOPPER

SN: 10001-UP

2шт.

4

01220-40630

SCREW

SN: 10001-UP

2шт.

5

01602-20619

WASHER,SPRING

SN: 10001-UP

2шт.

6

419-54-11750

BRACKET

SN: 10001-UP

2шт.

7

01010-51225

BOLT

SN: 10001-UP

4шт.

8

01010-51225

BOLT

SN: 10001-UP

4шт.

9

01010-51245

BOLT

SN: 10001-UP

2шт.

10

01643-31232

WASHER

SN: 10001-UP

10шт.

11

418-54-12151

HANDRAIL,L.H.

SN: 10001-UP

1шт.

12

418-54-12161

HANDRAIL,R.H.

SN: 10001-UP

1шт.

13

01010-51225

BOLT

SN: 10001-UP

6шт.

14

01643-31232

WASHER

SN: 10001-UP

8шт.

15

418-54-12192

LADDER

SN: 10001-UP

2шт.

16

01010-51230

BOLT

SN: 10001-UP

4шт.

17

01643-31232

WASHER

SN: 10001-UP

4шт.

18

01010-51230

BOLT

SN: 10001-UP

2шт.

19

01643-31232

WASHER

SN: 10001-UP

2шт.

20

418-54-14651

SUPPORT,L.H.

SN: 10372-UP

1шт.

20

0

SUPPORT,L.H.

SN: 10001-10371

1шт.

21

418-54-14661

SUPPORT,R.H.

SN: 10372-UP

1шт.

21

0

SUPPORT,R.H.

SN: 10001-10371

1шт.

22

01010-51235

BOLT

SN: 10001-UP

2шт.

23

01580-11210

NUT

SN: 10001-UP

2шт.

24

01643-31232

WASHER

SN: 10001-UP

2шт.

25

418-06-14230

PLATE

SN: 10001-UP

2шт.

26

423-54-14260

ROPE

SN: 10001-UP

4шт.

27

01010-51230

BOLT

SN: 10001-UP

12шт.

27A

01010-51235

BOLT

SN: 10001-UP

4шт.

28

01643-31232

WASHER

SN: 10001-UP

28шт.

29

01580-11210

NUT

SN: 10001-UP

12шт.

30

423-54-12770

STEP

SN: 10001-UP

2шт.

31

01010-51265

BOLT

SN: 10001-UP

4шт.

32

426-43-19150

NUT

SN: 10001-UP

4шт.

33

01643-31232

WASHER

SN: 10001-UP

8шт.

Выбрано товаров: 36