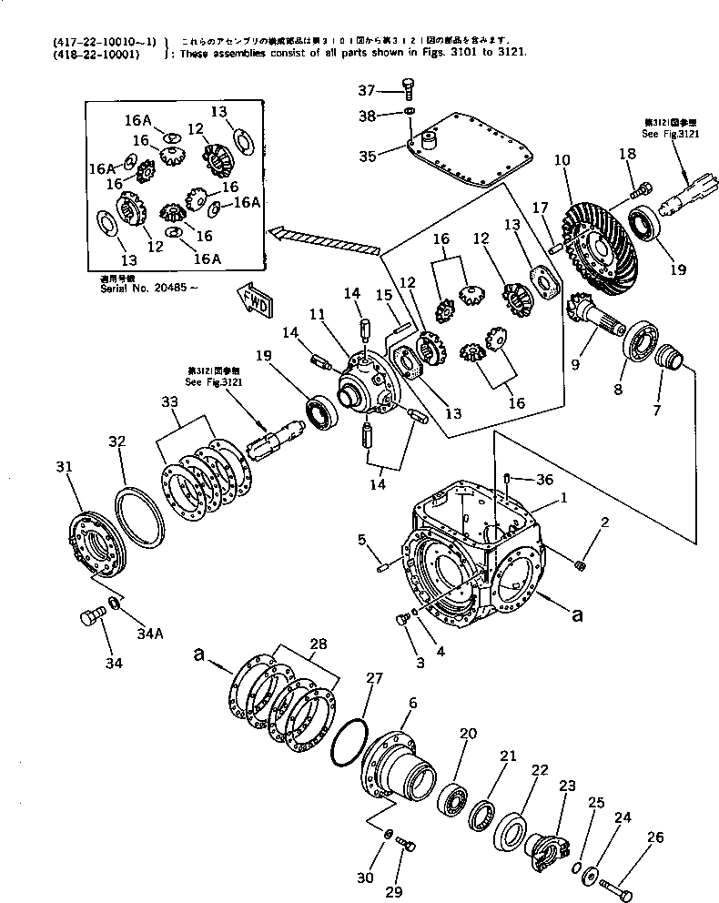
Запчасти Komatsu WA250-1 ПЕРЕДНИЙ ДИФФЕРЕНЦИАЛ ВЕДУЩ. ВАЛ¤ ДИФФЕРЕНЦ. И КОЛЕСА

Схема запчастей Komatsu WA250-1 - ПЕРЕДНИЙ ДИФФЕРЕНЦИАЛ ВЕДУЩ. ВАЛ¤ ДИФФЕРЕНЦ. И КОЛЕСА
FIT
1:1
100%

Артикул

Название

Примечание

Количество

|$0

418-22-10013

AXLE ASS'Y

SN: 12001-UP

1шт.

|$1

0

AXLE ASS'Y

SN: 10650-11999

1шт.

|$2

0

AXLE ASS'Y

SN: 10001-10649

1шт.

|$3

418-22-11032

DIFFERENTIAL ASS'Y,FRONT

SN: 10650-UP

1шт.

|$4

0

DIFFERENTIAL ASS'Y,FRONT

SN: 10001-10649

1шт.

1

418-22-13310

HOUSING

SN: 10001-UP

1шт.

2

07043-50211

PLUG

SN: 10001-UP

2шт.

3

07040-11209

PLUG

SN: 10001-UP

2шт.

4

07002-01223

O-RING

SN: 10001-UP

2шт.

5

04020-01228

PIN,DOWEL

SN: 10001-UP

4шт.

6

418-22-11131

CAGE

SN: 10001-UP

1шт.

7

418-22-11861

SPACER

SN: 10001-UP

1шт.

8

418-22-11810

BEARING

SN: 10001-UP

1шт.

|$13

418-22-11202

PINION ASS'Y

SN: 12409-UP

1шт.

|$14

0

GEAR ASS'Y

SN: 10650-12408

1шт.

|$15

0

PINION ASS'Y

SN: 10001-10649

1шт.

|$$17

(418-22-11103,418-22-11531(2),

-1шт.

|$$18

418-22-11550(4),418-22-11412(4))

-1шт.

9

0

PINION

SN: 12409-UP

1шт.

9

0

PINION,GEAR

SN: 10001-12408

1шт.

10

0

GEAR

SN: 12409-UP

1шт.

10

0

GEAR

SN: 10650-12408

1шт.

10

0

GEAR

SN: 10001-10649

1шт.

11

418-22-11513

CARRIER

SN: 10650-UP

1шт.

11

418-22-11611

CARRIER

SN: 10001-10649

1шт.

12

418-22-11431

GEAR

SN: 10001-UP

2шт.

13

418-22-11531

WASHER

SN: 10650-UP

2шт.

13

418-22-11530

WASHER

SN: 10001-10649

2шт.

14

418-22-11412

SHAFT

SN: 10650-UP

4шт.

14

418-22-11411

SHAFT

SN: 10001-10649

4шт.

15

418-22-11440

PIN

SN: 10001-UP

4шт.

16

419-22-11420

PINION

SN: 10001-UP

4шт.

16A

418-22-11550

WASHER

SN: 10650-UP

4шт.

17

04020-01638

PIN,DOWEL

SN: 10001-UP

2шт.

18

01010-61645

BOLT

SN: 10001-UP

16шт.

19

417-22-11850

BEARING

SN: 10001-UP

2шт.

20

418-22-11820

BEARING

SN: 10001-UP

1шт.

21

07012-00075

SEAL

SN: 10001-UP

1шт.

22

418-22-11310

PROTECTOR

SN: 10001-UP

1шт.

23

418-22-11230

COUPLING

SN: 10001-UP

1шт.

24

417-15-13770

HOLDER

SN: 10001-UP

1шт.

25

07000-03040

O-RING

SN: 10001-UP

1шт.

26

01011-61615

BOLT

SN: 10001-UP

1шт.

27

07000-05160

O-RING

SN: 10001-UP

1шт.

28

417-22-11360

SHIM, 0.05MM

SN: 10001-UP

2шт.

28

417-22-11370

SHIM, 0.2MM

SN: 10001-UP

2шт.

28

417-22-11380

SHIM, 0.3MM

SN: 10001-UP

2шт.

28

417-22-11390

SHIM, 0.8MM

SN: 10001-UP

1шт.

29

01010-61235

BOLT

SN: 10001-UP

13шт.

30

01643-31232

WASHER

SN: 10001-UP

13шт.

31

418-22-11160

CARRIER

SN: .-UP

2шт.

31

0

CARRIER

SN: 10001-.

2шт.

|$$53

(418-22-11160,01643-51232(4))

-1шт.

32

417-33-11430

RING

SN: 10001-UP

2шт.

33

417-22-11461

SHIM, 0.07MM

SN: 10001-UP

2шт.

33

417-22-11471

SHIM, 0.2MM

SN: 10001-UP

2шт.

33

417-22-11481

SHIM, 0.3MM

SN: 10001-UP

2шт.

33

417-22-11491

SHIM, 0.8MM

SN: 10001-UP

2шт.

34

01010-61230

BOLT

SN: 10001-UP

14шт.

34A

01643-51232

WASHER

SN: .-UP

14шт.

35

418-22-13120

COVER

SN: 10001-UP

1шт.

36

04020-01228

PIN,DOWEL

SN: 10001-UP

2шт.

37

01010-61230

BOLT

SN: 10001-UP

16шт.

38

01643-31232

WASHER

SN: 10001-UP

16шт.

Выбрано товаров: 64