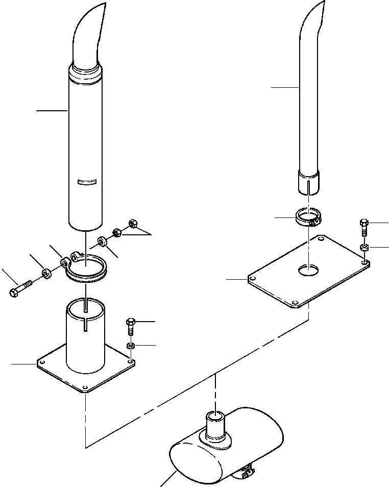
Запчасти Komatsu WA250-1LC ВЫПУСКН. СИСТЕМА КОМПОНЕНТЫ ДВИГАТЕЛЯ & ЭЛЕКТРИКА

Схема запчастей Komatsu WA250-1LC - ВЫПУСКН. СИСТЕМА КОМПОНЕНТЫ ДВИГАТЕЛЯ & ЭЛЕКТРИКА
2
7
3
5
10
8
6
11
11
9
4
5
6
12
1
FIT
1:1
100%

Артикул

Название

Примечание

Количество

1

418-01-A1592

MUFFLER, EXHAUST

1шт.

2

1280 227 H1

TUBE, EXHAUST STACK (STANDARD)

1шт.

3

1800 722 C1

CLAMP, EXHAUST TUBE

1шт.

|$3

25 500 R1

BOLT, TIGHTEN CLAMP

1шт.

|$4

25 544 R1

WASHER, HARDENED

2шт.

|$5

115 093

WASHER

1шт.

|$6

25 522 R1

NUT

1шт.

4

418-02-A1110

PLATE, COVER

1шт.

5

01010-51225

BOLT

4шт.

6

01643-31232

WASHER

4шт.

7

6151-11-5590

TUBE, EXHAUST STACK (GLASS WOOL)

1шт.

8

4210-21-1120

CLAMP

1шт.

9

6693-12-5550

BOLT

1шт.

10

01582-01411

NUT

2шт.

11

6151-11-5670

WASHER

2шт.

12

418-02-A1120

BRACKET

1шт.

Выбрано товаров: 16