Качественные детали и логистика
Оригинальные и аналоговые запчасти с доставкой по России, Казахстану и Беларуси
©2022 PartSell ООО "Система" ИНН 2463123282 ОГРН 1212400004838
Центральный офис: г. Красноярск, Академика Киренского, д.87, пом.4
Телефон: 8 (800) 777-65-74 Email: zakaz@partsell.ru
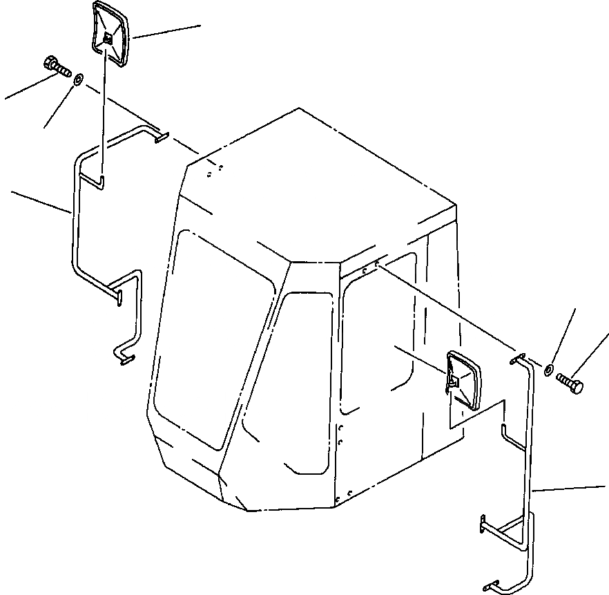
ЗЕРКАЛАAND СТОЙКА (С КАБИНОЙ)
№
Артикул
Название
Примечание
Количество
1
419-54-12215
STAY, LH
1шт.
2
419-54-12225
STAY, RH
3
01010-50820
BOLT
12шт.
4
01643-30823
WASHER
5
08174-33023
MIRROR
2шт.
Выбрано товаров: 0