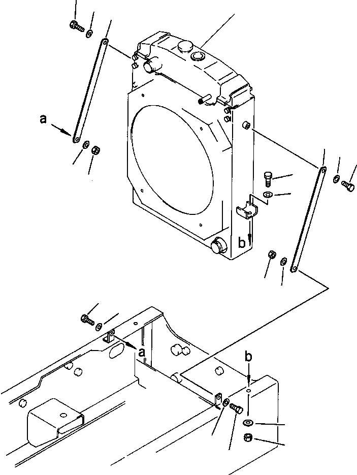
Запчасти Komatsu WA250-1LC РАДИАТОР И КРЕПЛЕНИЕ КОМПОНЕНТЫ ДВИГАТЕЛЯ & ЭЛЕКТРИКА

Схема запчастей Komatsu WA250-1LC - РАДИАТОР И КРЕПЛЕНИЕ КОМПОНЕНТЫ ДВИГАТЕЛЯ & ЭЛЕКТРИКА
3
4
1
2
2
4
3
6
8
7
9
7
6
5
6
9
6
10
5
FIT
1:1
100%

Артикул

Название

Примечание

Количество

1

RADIATOR ASSEMBLY (SEE PG 01-046)

-29шт.

2

418-03-11220

BRACKET, MOUNTING

2шт.

3

01010-31230

BOLT, BRACKET TO RADIATOR (TOP)

2шт.

4

01643-31232

WASHER

2шт.

5

01010-31235

BOLT, BRACKET TO FRAME (BOTTOM)

2шт.

6

01643-31232

WASHER

4шт.

7

01580-01210

NUT

2шт.

8

01010-31650

BOLT, RADIATOR TO FRAME

2шт.

9

01643-31645

WASHER

4шт.

10

01580-01613

NUT

2шт.

Выбрано товаров: 10